三节吊车伸缩臂原理图

履带伸缩臂吊车多少钱|国产750t起重机,除了三大厂,还有谁?
图片尺寸1152x864
求一张汽车起重机伸缩臂结构图,装配图也行,要cad图,同步收缩更好
图片尺寸300x210
cn201125132y_悬挂起重机伸缩臂的伸缩装置失效
图片尺寸2912x1319
cn101618840a_伸缩臂起重机及其超起装置有效
图片尺寸1563x864
一种多功能伸缩臂风电起重机的制作方法
图片尺寸1000x592
cad设计图纸汽车起重机伸缩臂系统设计全套终稿
图片尺寸873x620
汽车起重机吊臂构造及伸缩原理ppt
图片尺寸1080x810
包括基本臂,第一节伸缩臂,第二节伸缩臂,第三节伸缩臂,伸缩油缸,第二
图片尺寸556x236
伸缩臂式旋臂起重机
图片尺寸1932x1419
起重机伸缩臂内部机构cad图纸
图片尺寸716x527
一种起重机伸缩臂架结构
图片尺寸891x727
36最大起升高度(m)8.97.85.56.4伸缩臂节数2212回转角度正反360
图片尺寸500x247
伸缩臂1
图片尺寸820x485
沼泽山区电塔吊装利器中联重科伸缩臂履带吊新品zct500v542上市
图片尺寸1080x1420
液压船用甲板起重机伸缩臂码头起重机
图片尺寸992x1403
汽车起重机吊臂构造及伸缩原理ppt
图片尺寸1080x810
汽车起重机伸缩臂系统设计含cad零件图装配图
图片尺寸654x494
一分钟入门起重机伸缩臂的内部结构啥样
图片尺寸600x422
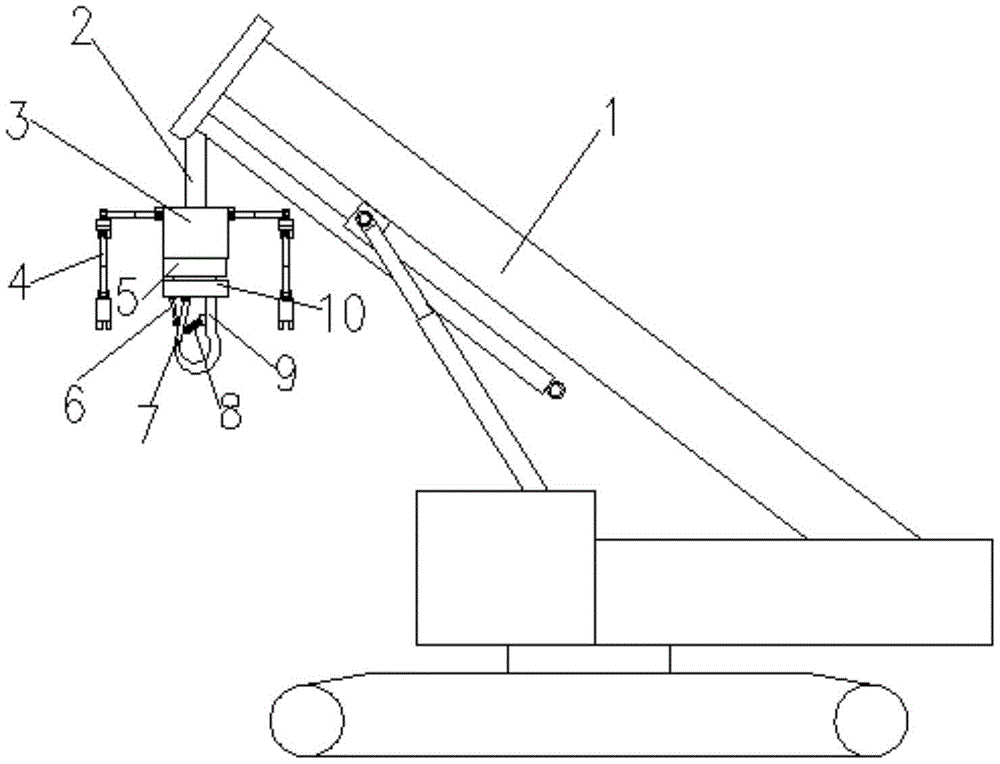
cn209275997u_一种履带式伸缩臂起重机的多功能吊具
图片尺寸1000x764
一种用于洗车装置的伸缩臂机构的制作方法
图片尺寸1000x698