下料口手动闸门设计图

闸门设计图免费下载 - 泵站闸门 - 土木工程网
图片尺寸398x285
求手动水渠闸门图纸有的发到277709882@qq.com
图片尺寸732x655
cbz手动渠道闸门
图片尺寸528x316
cz 型不锈钢插板闸门预埋件图
图片尺寸600x619
pz400手动式平板闸门cad图纸下载(201.46k,dwg格式) 机械cad图纸
图片尺寸647x421
料斗颚式阀闸
图片尺寸311x220
闸门装配最终
图片尺寸488x345
厂家手动圆口/方口螺杆下料阀插板阀直通式卸料闸门排污阀现货
图片尺寸313x400
非标的螺旋闸门产品外形结构尺寸lmd型螺旋闸门,手动插板阀是一种粉料
图片尺寸630x851
lmd型螺旋闸门,手动插板阀
图片尺寸630x851
闸门图纸下载_闸门免费图纸,设计模型大全 - 沐风网
图片尺寸285x206
闸门不但可以应用于水利工程,可以用于各类无粘度的固体,粉料及小于50
图片尺寸500x340
闸门具有结构简单,操纵灵活,重量轻,无卡阻,特别适用于各类固体物料和
图片尺寸390x267
电动平开闸门及接料斗图下载(114.
图片尺寸955x672
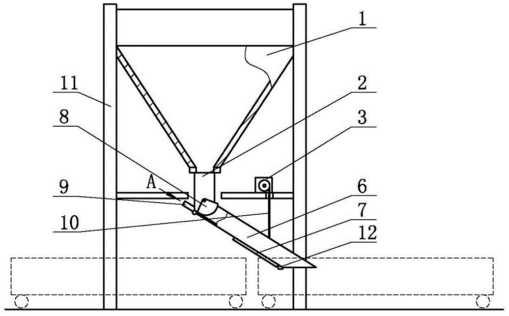
包括支架(i i ),支架(i i)上安装料斗(i),料斗(i)底部与下料管(2)连通
图片尺寸1000x621
宇中粮机批发各式非标件手气动闸门质优粮仓下料闸门
图片尺寸1080x1080
辽宁优质平面定轮钢闸门专卖创造辉煌
图片尺寸400x300
手动渠道闸门 铸铁渠道闸门 诚腾实地商家
图片尺寸750x750
铸铁镶铜手动方闸门
图片尺寸350x350
卷闸门弹簧 手动卷帘门扭簧卷闸门弹簧维修卷帘门配件更换扭簧现代
图片尺寸3456x4608