不锈钢盆简笔画

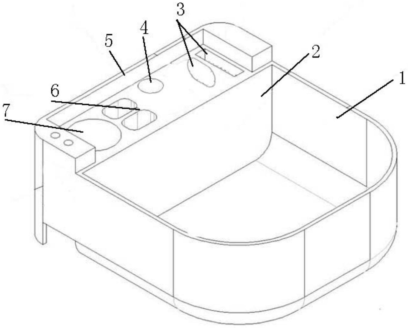
一种不锈钢台盆-爱企查
图片尺寸1367x1101
不锈钢洗手盆不锈钢厨房水槽为餐厅
图片尺寸663x549
脸盆的简笔画
图片尺寸500x492
高品质的厨房水槽不锈钢洗手盆水槽圆碗水槽rv
图片尺寸660x660
不锈钢水槽(dsu3018)
图片尺寸592x353
器餐具乐乐简笔画koziol柠檬色宠物防滑饭盆狗狗饭盆不锈钢等等
图片尺寸543x500
cn109930665a_一种不锈钢洗刷池盆
图片尺寸310x610
不锈钢水槽(ch380)
图片尺寸1376x607
不锈钢水槽(dsu3018)
图片尺寸1024x585
不锈钢水槽,304一体拉伸水槽,厨房用品,u006双盆水槽 78*43
图片尺寸419x241
德国品质2022新款不锈钢洗手池北欧黑色台上盆洗手盆304不锈钢艺术盆
图片尺寸790x597
不锈钢水槽
图片尺寸429x600
厨房水槽配刀架 水槽不锈钢盆 洗菜不锈钢盆双盆 抗氧化水槽双槽
图片尺寸607x354
304一体拉伸水盆,不锈钢水盆,整体拉伸,ub004双盆水槽 80*43
图片尺寸427x254
walrus yh216c 不锈钢单胆台面厨盆连去水 580x430x220mm 镜面铬
图片尺寸750x750
整体成型水槽,304不锈钢水槽,整体厨房
图片尺寸422x248
双盆水槽 不锈钢水盆 洗菜盆水槽双槽/单槽 三源水暖雅之源卫浴
图片尺寸627x393
洗物盆(水槽)
图片尺寸1088x621
开平永红达威尔不锈钢水槽洗菜盆,星盆型号
图片尺寸574x686
201一体拉伸水槽,不锈钢水槽厂家不锈
图片尺寸366x235