主轴拉爪结构图

意大利belloditibihsk主轴拉刀爪详解
图片尺寸700x450
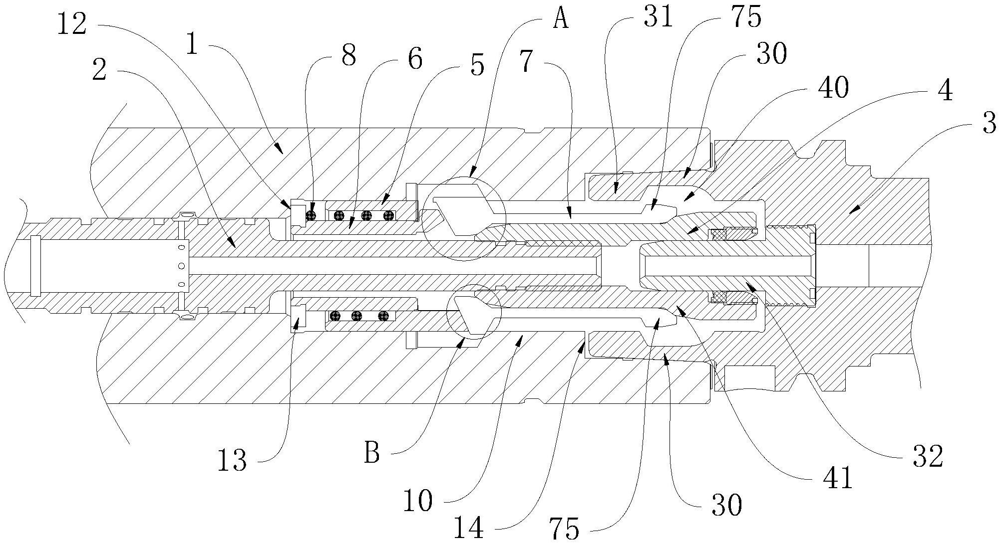
一种主轴的高可靠性拉爪执行机构
图片尺寸2005x1095
现货供应 bt50 内外螺纹拉刀爪 主轴拉刀爪 加工中心主轴拉刀爪
图片尺寸750x1061
bt40150精密拉爪皮带式台湾主轴
图片尺寸681x386
意大利belloditibihsk主轴拉刀爪详解
图片尺寸700x450
台湾acrow丸荣mas-50拉爪现货促销 主轴拉爪
图片尺寸849x1200
ott内螺纹拉爪bt40-45度主轴拉爪主轴四瓣爪台湾丸荣
图片尺寸563x326
mj-50数控车床主轴结构
图片尺寸970x750
本发明公开了一种基于主轴的拉紧结构,包括转子,刀柄机构和拉爪机构
图片尺寸1000x398
【主轴拉爪】丸荣主轴拉爪bt40-45度外螺纹拉爪主轴拉爪四瓣爪加工
图片尺寸534x343
主轴结构 - 2020年最新商品信息聚合专区 - 百度爱采购
图片尺寸640x480
台湾思远(sm)40型四瓣爪bt30/45°(1213021)主轴拉爪
图片尺寸680x474
e台湾丸荣acrow加工中心主轴拉爪拉刀夹爪倍力夹爪bt30四瓣爪
图片尺寸580x329
一.主轴结构解析
图片尺寸845x375
一种数控滚齿机主轴结构
图片尺寸2806x1595
台湾丸荣主轴拉爪四瓣爪拉刀爪ott拉爪
图片尺寸1984x1403
hsk主轴四瓣拉刀爪
图片尺寸650x818
hsk主轴四瓣拉刀爪
图片尺寸650x780
图6-2 tnd360型数控车床主轴
图片尺寸1080x810
ca6140车床主轴结构图演示课件.pptx 21页
图片尺寸1728x1296