亮结构

认识灯泡结构
图片尺寸2667x2000
增亮膜的微棱镜结构及光学原理
图片尺寸495x249
科学 认识灯的结构
图片尺寸1080x810
背光模组结构介绍ppt
图片尺寸1080x810
落上下结构,上收下放.
图片尺寸500x507
注意这些结构线,一分钟带你学会漂亮的亮字!
图片尺寸1280x720
黑子的亮墙结构
图片尺寸220x161
从结构观察到光影分析手把手教你画好一个球体
图片尺寸1080x672
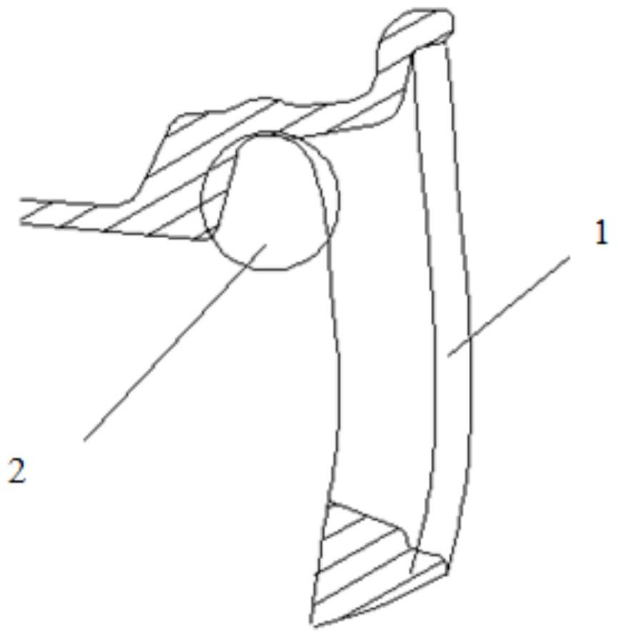
一种铝合金车轮沟槽车亮结构的制作方法
图片尺寸870x1000
清道夫受体的亮氨酸拉链结构
图片尺寸562x480
亮-暗-亮结构这一模型其实经不起推敲:如果细胞膜是静态的,细胞如何
图片尺寸326x288
画眉鸟笼(鬼工记)方笼四亮1号笼 榫卯结构 牢固耐用
图片尺寸675x900
(2015七上·石泉期中) 观察如图的显微镜结构图,并回答
图片尺寸239x286
明古写,左右结构,注意两部分的大小.
图片尺寸500x504
田英章楷书诸葛亮《诫子书》技法讲解_结构
图片尺寸500x479
碱性亮氨酸拉链结构及其与dna的结合
图片尺寸327x296
【博阅正版】内衣结构设计教程第2版印建荣常建亮著原创设计内衣制图
图片尺寸500x500
结构分析教程之"采,亮,洗"的写法
图片尺寸480x270
一种改进的铝合金车轮底切减重加亮结构-爱企查
图片尺寸866x896
西安交大硬度超13gpa一种新方法制备超强纳米结构高熵合金
图片尺寸548x1500