人工鸟巢 设计草图

一种人工鸟巢的制作方法
图片尺寸1000x566
鸟巢的制作方法
图片尺寸739x1000
本实用新型涉及引鸟和鸟巢设计技术领域,具体的涉及一种栗臀鳾的人工
图片尺寸1000x749
人工鸟巢模型制作
图片尺寸920x690
鸟巢线稿矢量图
图片尺寸658x393
一种人工鸟巢的制作方法
图片尺寸1000x940
巴中市体育中心项目作为巴中市重点工程,有着"巴中鸟巢"的美誉,建成后
图片尺寸600x493
"鸟巢"结构图片-结构设计-筑龙结构设计论坛
图片尺寸1125x1602
一种鸟巢结构及其施工方法
图片尺寸907x1000
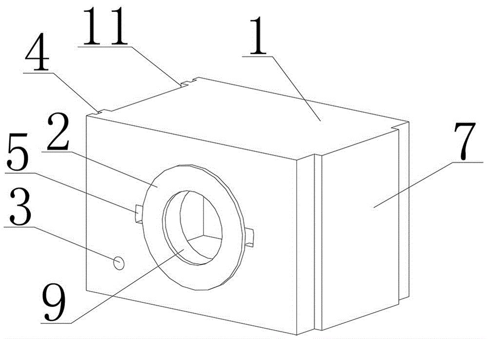
一种人工鸟巢的制作方法
图片尺寸1000x964
鸟巢结构分析
图片尺寸1080x810
一种人工鸟窝的制作方法
图片尺寸1000x833
一种人工鸟巢及全自动人工鸟巢制作机制造技术
图片尺寸912x1000
鸟巢的平面图
图片尺寸600x394
cn210470666u_一种用于建筑墙体的人工鸟巢有效
图片尺寸1000x694
一种用于建筑墙体的人工鸟巢的制作方法
图片尺寸1000x694
温布利国家体育场 / 福斯特建筑事务所,草图
图片尺寸1280x898
【鸟巢】姚梦明谈国家体育场照明设计(part2)
图片尺寸500x215
鸟巢吉祥物名称释义
图片尺寸512x564
鸟巢设计图__条纹线条_底纹边框_设计图库_昵图网nipic.com
图片尺寸754x517