仿生腿结构

一种jansen连杆结构机器人仿生腿结构
图片尺寸288x443
一种四足机器人仿生腿部机构
图片尺寸1509x2107
一种仿生机器人腿足机构的制作方法
图片尺寸378x444
一种jansen连杆结构机器人仿生腿及仿生蝎式六足机器人
图片尺寸444x432
一次充电,15460步!新型仿生腿让截肢者轻松行走,轻巧,有力,还能自发电
图片尺寸1614x830
仿生鸟腿机器人结构分析,为何能跑的更快更省能量
图片尺寸1728x1080
仿生机器人腿,用于解决现有机器人腿由于纯刚性结构带来的运动结构
图片尺寸921x1000
一种四足机器人仿生腿部机构的制作方法
图片尺寸716x1000
一种仿生青蛙机器人腿部结构
图片尺寸303x444
一种仿生水下足式机器人腿部结构及仿生水下足式机器人
图片尺寸1427x1808
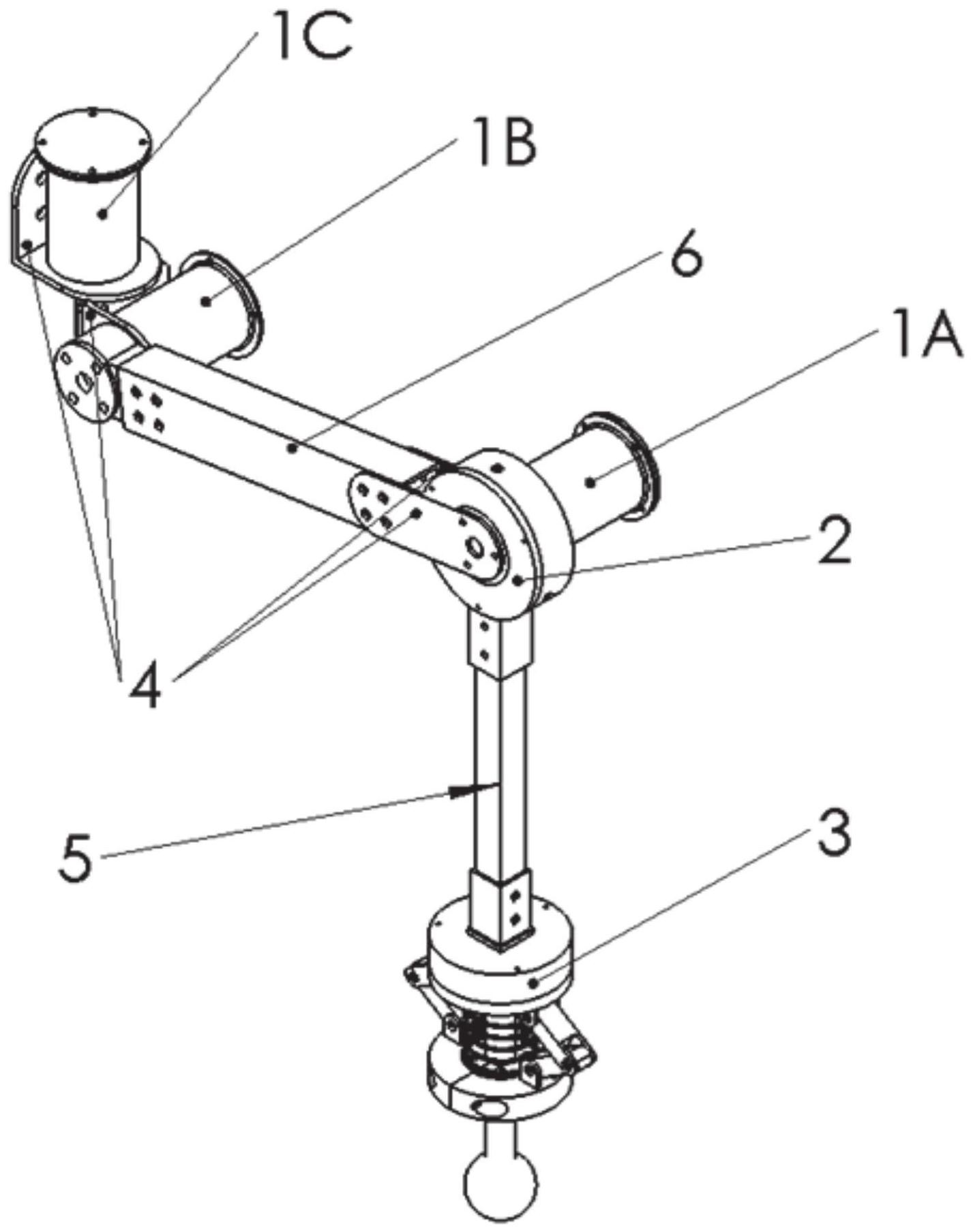
一种仿生机器人腿部结构
图片尺寸1945x993
一种仿真机器人腿部结构-爱企查
图片尺寸1232x2056
一种基于人体下肢骨骼肌肉特性的仿生腿足机构-爱企查
图片尺寸981x1310
机械腿-仿生弹簧阻尼
图片尺寸1394x871
具有缓冲功能的仿生海蟑螂腿结构
图片尺寸1155x1047
2015if奖,2015红点奖,腿部,医疗,智能,假肢
图片尺寸1200x2539
cn105480321a_基于丝传动的武装机器人三自由度小惯量仿生腿有效
图片尺寸1000x977
机械关节及仿生机械恐龙的腿部结构
图片尺寸625x1000
机械仿生腿三维总成设计
图片尺寸748x529
可变形态的腿部结构及机器人
图片尺寸1689x1747