仿生飞行器设计图

基于仿生学原理设计制造的新型飞行器类型的重要结构
图片尺寸981x862
thesis--飞行器设计
图片尺寸1200x849
一种仿生蜂鸟扑翼飞行器的制作方法
图片尺寸1000x628
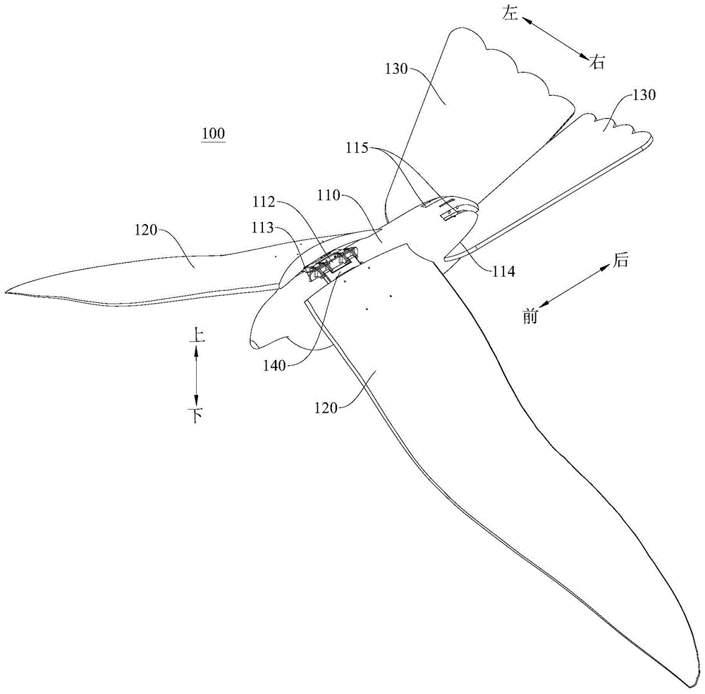
一种仿生扑翼飞行器及其控制方法与流程
图片尺寸444x280
本发明属于仿生飞行器设计技术领域,具体涉及一种以电热型复合碳纳米
图片尺寸444x371
cn102107733a_仿生飞行器失效
图片尺寸2004x1684
blue bird 概念飞行器_手绘|李昱-优秀工业设计作品-优概念
图片尺寸1060x1500
2018辽宁省创新杯未来飞行器设计大赛青年组b组入围作品网络评选
图片尺寸1080x687
工业产品手绘——鸟型仿生飞行器
图片尺寸960x600
2019辽宁省创新杯未来飞行器设计大赛少年组b组入围作品网络评选
图片尺寸738x517
仿生蜻蜓飞行器(精)
图片尺寸800x800
结构完整设计标签飞行器作品信息创作时间2021/08/12收录收藏夹查看更
图片尺寸1280x942
鳐鱼——概念飞行器设计
图片尺寸1280x894
「远川绘-手绘素材第379天」概念飞行器设计手绘
图片尺寸1080x641
cn111661326a_仿生飞行器在审
图片尺寸1000x985
鳐鱼——概念飞行器设计
图片尺寸1280x530
蜻蜓直升机设计,这才是真正的未来飞行器!
图片尺寸1200x873
概念航行器仿生设计
图片尺寸3840x2161
sawuquqr从白戒转采于2018-10-14 14:26:35独角仙仿生无人机飞行器saw
图片尺寸658x465
未来飞行器 渲染打光练习
图片尺寸1280x847