伏安法测电阻ui图像

如图所示是"伏安法测电阻"的实验电路图,r为待测电阻,阻值约为5Ω
图片尺寸284x264
九年级物理全册第15章探究电路第3节"伏安法"测电阻练习(新版)沪科版
图片尺寸613x456
"伏安法"测电阻
图片尺寸640x436
6.用伏安法测量电阻阻值r,并求出电阻率ρ.
图片尺寸380x169
小名在做伏安法测电阻的实验时设计的电路如图所示
图片尺寸2500x950
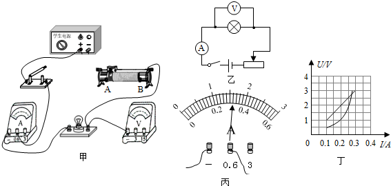
小明同学利用"伏安法"测量小灯泡的电阻,所连接的实物电路,如图甲所示
图片尺寸3490x1330
初中物理综合库 电磁学 欧姆定律 电阻的测量 伏安法测电阻 伏安法测
图片尺寸2500x1240
在用伏安法测电阻rx的实验中,所用电压表的内阻约为20kΩ,电流表的
图片尺寸422x210
(9分)利用伏安法测定一节干电池的电动势和内电阻.
图片尺寸219x201
某同学用伏安法测量导体的电阻率,现有量程为3v,内阻约为3kΩ的电压表
图片尺寸880x834
伏安法测电阻实验报告
图片尺寸482x290
伏安法测电阻ui图像伏安法作图伏安法测电阻网格图伏安法测电阻电流表
图片尺寸505x238
伏安法测电阻
图片尺寸554x225
2016年07月24日伏安法测电阻
图片尺寸567x270
伏安法测电阻
图片尺寸472x173
伏安法测电阻实物图连接: 1.摆放器材 2.连接导线 a r v p
图片尺寸1080x810
伏安法测电阻
图片尺寸300x272
在"伏安法测电阻"实验中,某小组的实验电路如图1甲所示.
图片尺寸409x327
用伏安法测r的电阻实验中:(1)图甲中,有一根导线未连接,要求:当滑片
图片尺寸2362x1577
"伏安法"测电阻
图片尺寸402x315