伞座平面

cn203511881u_一种车载晴雨伞伞座失效
图片尺寸506x1000
一种多功能沥水伞座的制作方法
图片尺寸1000x796
一种可折叠的便携式伞座
图片尺寸1000x802
一种可拆卸的伞座制造技术
图片尺寸1000x922
露天太阳伞
图片尺寸610x610
伞座(myd019)-爱企查
图片尺寸1181x1076
太阳伞底座
图片尺寸1368x1273
共享伞固定座2
图片尺寸992x980
遮阳伞及其伞座的制作方法
图片尺寸1000x821
伞座
图片尺寸453x360
一种万向伞底座的制作方法
图片尺寸886x1000
十骨黑胶防晒防紫外线遮阳伞 三折伞折叠晴雨伞 定制logo起订量100把
图片尺寸825x536
伞座
图片尺寸451x362
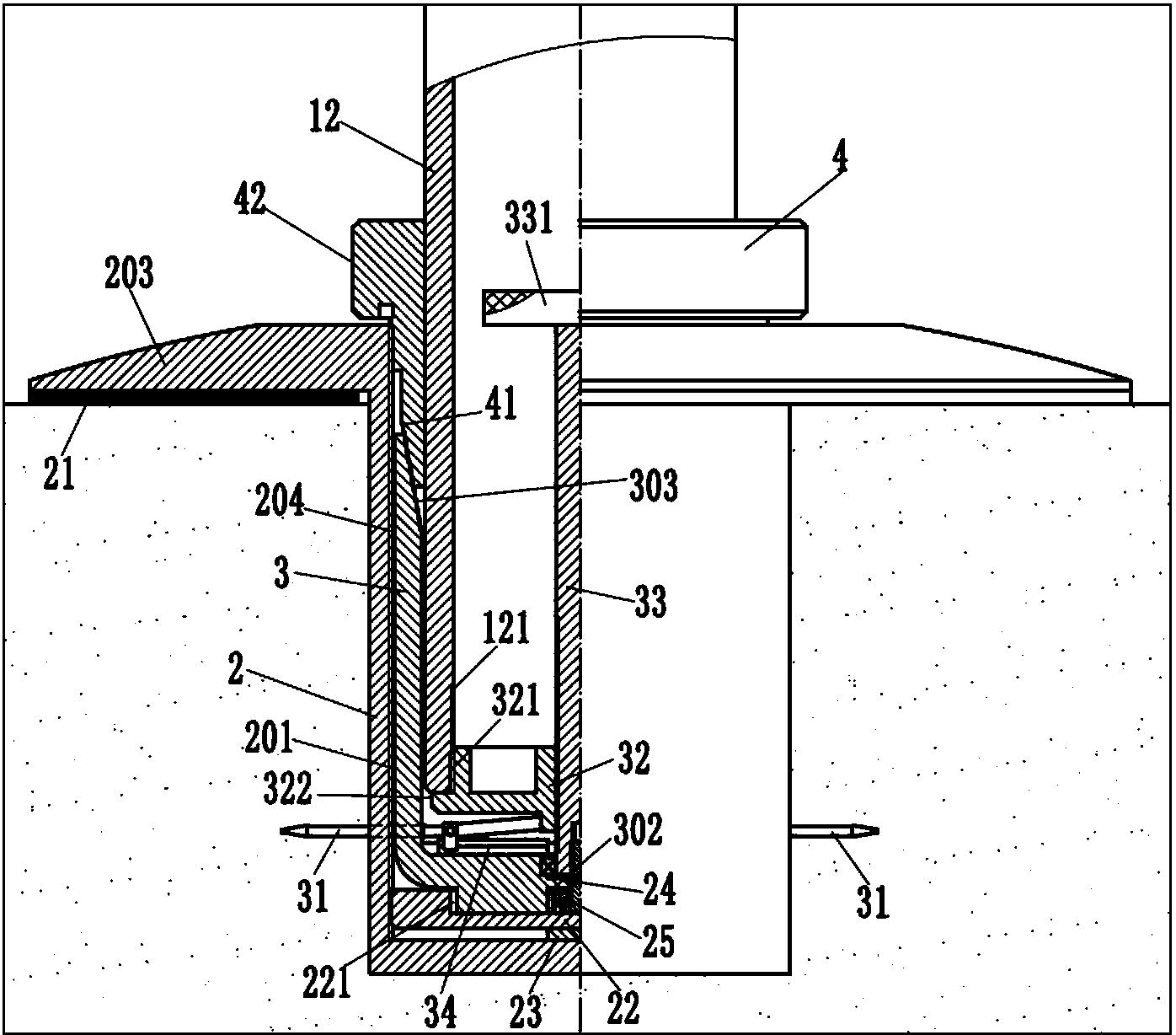
一种可拆卸式遮阳伞固定座
图片尺寸1396x1228
大自动雨伞女折叠韩国小清新遮阳伞晴雨两用防风加固双人雨伞 长柄伞
图片尺寸750x519
一种多功能光伏太阳能伞的制作方法
图片尺寸910x1000
欧力猫16骨直柄伞商务自动伞加固加大抗风长柄雨伞藏青
图片尺寸750x605
太阳伞的制作方法
图片尺寸1000x911
一种支撑座及应用该支撑座的户外伞的制作方法
图片尺寸835x1000
cn105725400a_一种太阳能空气净化空调伞失效
图片尺寸1750x1345