传动装置结构简图

汽车传动系统的组成和作用
图片尺寸984x536
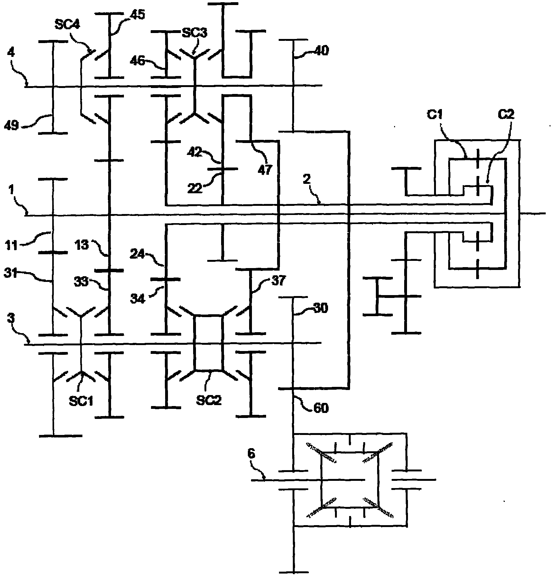
一种双离合器变速器传动装置
图片尺寸1755x1836
自行车直轴传动装置
图片尺寸1919x1918
一级带式输送机传动简图
图片尺寸920x1302
带式输送机传动装置设计
图片尺寸639x380
一级带式输送机传动简图
图片尺寸2496x1679
汽车传动系统——传动系的种类图解.doc
图片尺寸993x1404
一种超长丝杆传动装置
图片尺寸1000x877
精密行星减速机装置传动简图
图片尺寸640x496
a1螺旋输送机设计传动装置.pdf
图片尺寸800x566
一,设计题目 带式输送机传动装置课程设计 1,传动装置简图
图片尺寸893x432
一种印刷机头传动装置-爱企查
图片尺寸910x583
三分钟让你清楚知道汽车传动系的功用与组成
图片尺寸640x448
传动方案示意图
图片尺寸959x1356
传动装置
图片尺寸800x574
请问如何让电机传动驱动轴组件直线行走
图片尺寸561x582
汽车的传动系布置示意图
图片尺寸1080x810
绘图切割机传动装置-爱企查
图片尺寸336x256
图20-1 传动系统运动简图
图片尺寸1080x810
驱动桥处于传动系统的末端,主要功用是将传动装置输入的动力经降速增
图片尺寸1037x1205