传感器电路图线路图

超声波测距传感器模块电路图
图片尺寸700x390
基于adxl345的井盖倾角传感器的电路设计
图片尺寸597x531
【雕爷学编程】arduino动手做(45)---红外避障传感器
图片尺寸1418x939
smci型湿度传感器电路原理图
图片尺寸1027x341
一种红外二极管感应报警电路-爱企查
图片尺寸1688x1087
为什么电感式传感器的测量电路要有相敏检波电路请分析该电路工作原理
图片尺寸506x280
一种无刷直流电机霍尔传感器的检测电路及检测方法
图片尺寸1881x1390![[dht11]温湿度传感器全面分析](https://imgs.wantubizhi.com/img/735A5D1F980B52A636CC46F12F2D1A73EFB2689617579E56425F9598270297BB2BBFE81DBBB1308D3A0C34E7C5E8750BFB573999184A7007D8736D020AF98E20AD900FE096396B1F13906961936FB7D986827686D611173AB4B51CBB69C49B6F)
[dht11]温湿度传感器全面分析
图片尺寸413x407
二氧化碳气体传感器检测电路图
图片尺寸1101x598
传感器集成运放直流电压放大电路易受干扰和产生振荡现象(附原理图)
图片尺寸1565x849
cgs-h型陶瓷湿度传感器构成的低湿度检测电路图
图片尺寸1707x886
红外传感器电路图
图片尺寸530x312
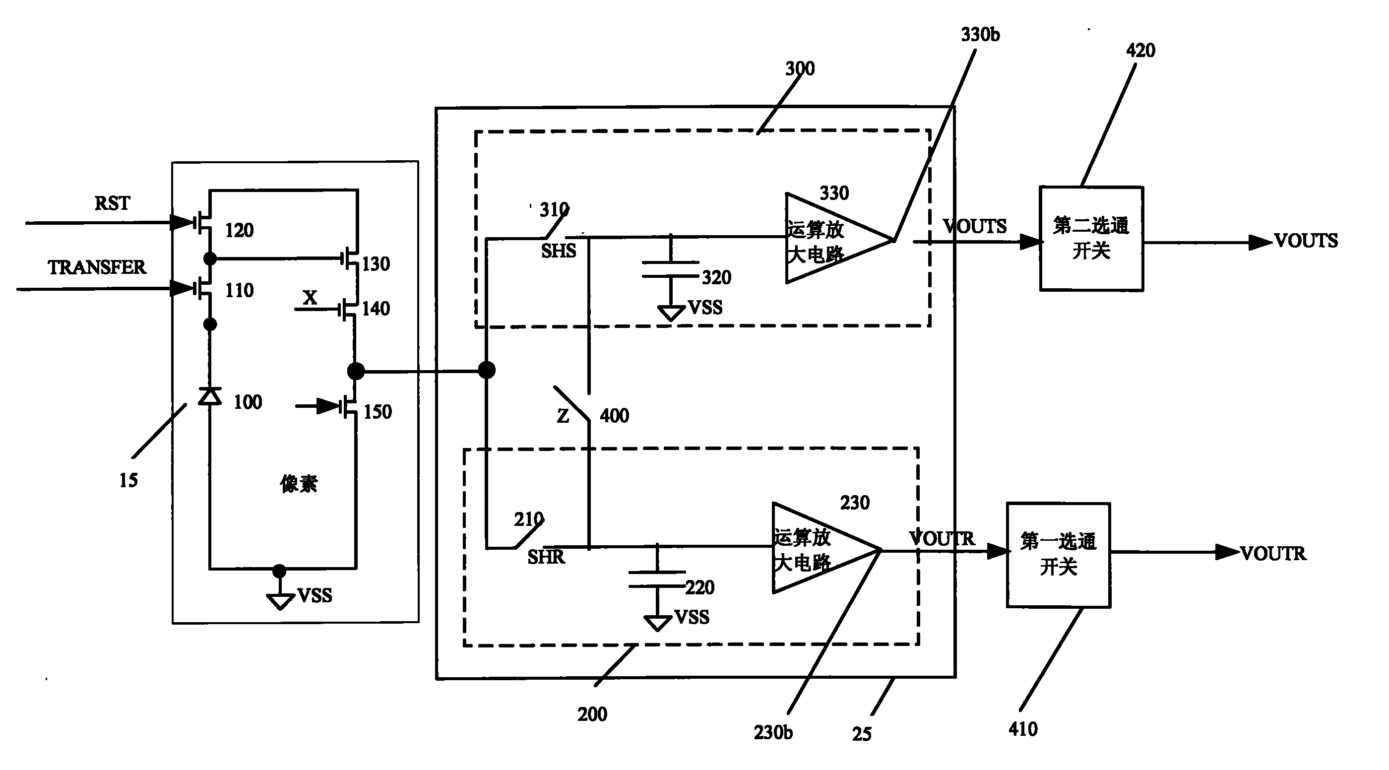
图像传感器的列处理电路及图像传感器
图片尺寸2800x1552
某同学利用如图甲所示电路观察电容器的充放电现象电流传感器与计算机
图片尺寸1317x1261
红外传感器模块接到电路来控制照明灯,请问这电路图要怎么画才合理
图片尺寸450x360
压力传感器水压测试程序原理图
图片尺寸640x732
烟雾气敏传感器模块电路图
图片尺寸700x333
一种传感器信号放大器
图片尺寸1852x1287
一种ph值传感器信号放大电路的制作方法
图片尺寸1000x735
电容传感器测量系统模块电路设计集锦
图片尺寸475x220