传输线结构

层绞式光缆厂家光缆结构由什么组成光缆的结构典型有哪些
图片尺寸682x285
综合布线系统工程网络传输介质中的双绞线概念
图片尺寸679x519
光纤传输
图片尺寸1000x396
光纤通信系统ppt_word文档在线阅读与下载_无忧文档
图片尺寸1080x810
常见的传输线及其场结构
图片尺寸1080x810
传输线的结构示意图
图片尺寸640x352
什么叫传输线理论
图片尺寸653x296
gyta53光缆结构
图片尺寸545x339
传输技术入门-147页--培训--sdh部分ppt 传输网分层结构 省际干线网
图片尺寸1080x810
第三章微波传输线ppt
图片尺寸800x600
漫谈铁路通信30年巨变_传输方式
图片尺寸1024x767
带式输送机(直线式)该输送机用于物料的输送.
图片尺寸300x225
传输线基本理论ppt
图片尺寸1080x810
光纤的结构 纤芯 包层 保护套
图片尺寸1080x810
p>传输线 i>(transmission line) /i>输送电磁能的线状结构的 a href
图片尺寸1045x420
cn202183266u_一种结构稳固的电缆传输线有效
图片尺寸554x316
材料和结构的不同导致传输线的传播常数不同,所以传播常数的计算是
图片尺寸777x652
背景技术:传输线输送电磁能的线状结构的设备.
图片尺寸945x1000
高频板之有哪些常用射频微波传输线_技术交流_技术文章_深圳市鑫成尔
图片尺寸551x207
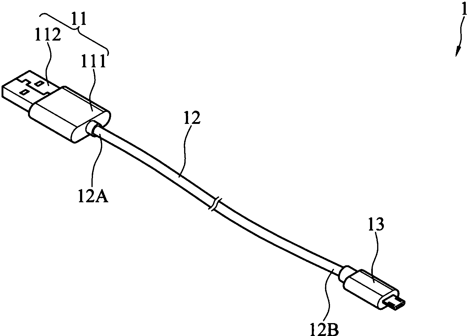
cn206259579u_传输线结构失效
图片尺寸1517x1093