伸缩旗杆原理

全自动旗杆的固定方式
图片尺寸640x971
电动旗杆的好处都有什么
图片尺寸640x873
10米12米锥形304不锈钢户外手摇升旗国旗杆 学校9米15米手动旗杆
图片尺寸600x800
自动升降无风自吹旗帜的万向旗杆
图片尺寸800x1623
旗杆
图片尺寸972x614
一种控制方便的升旗杆的制作方法
图片尺寸867x1000
中海华科旗杆厂家北京旗杆汉白玉旗台旗杆安装
图片尺寸750x750
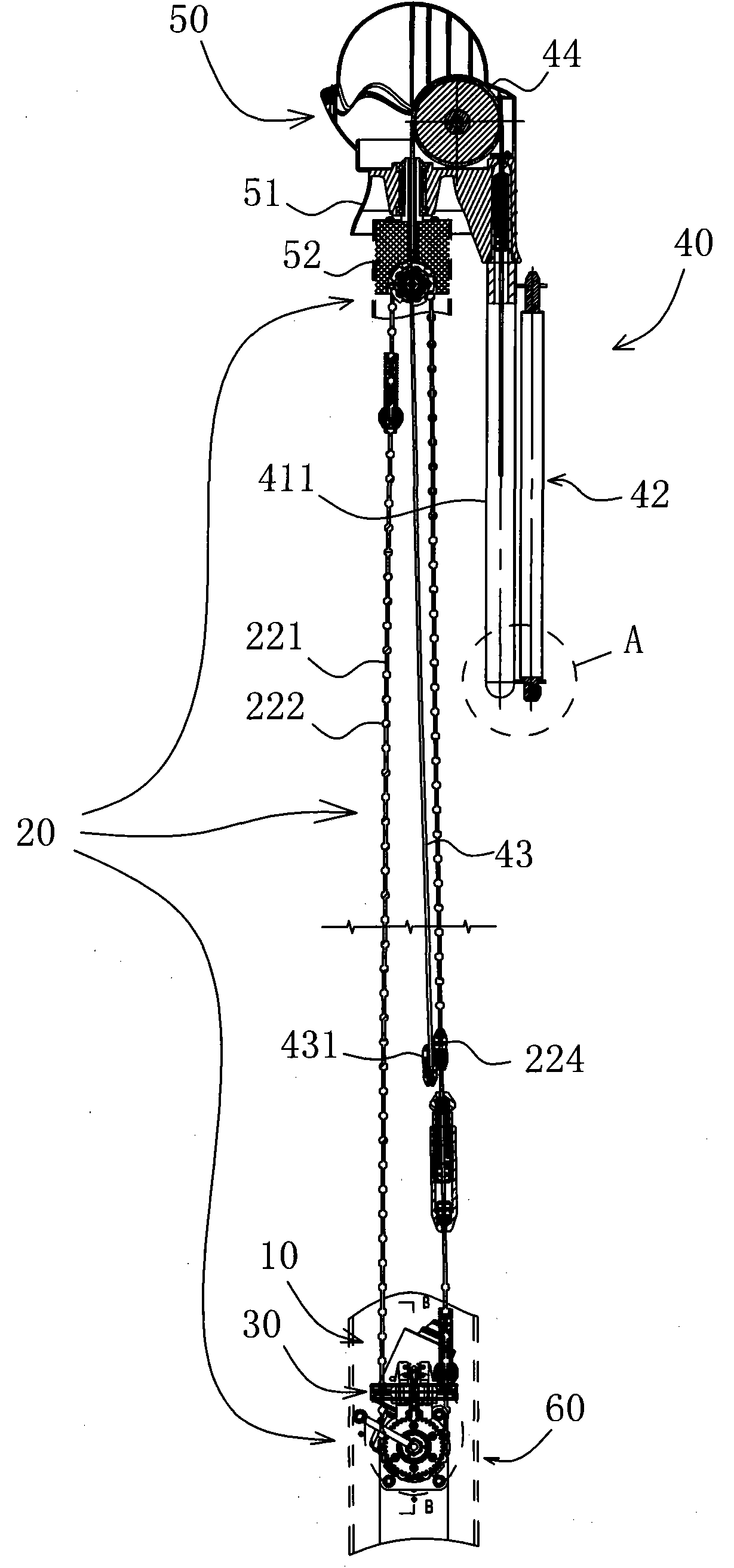
cn101781943b_旗杆的升降旗机构有效
图片尺寸1229x2627
cn201836162u_伸缩杆失效
图片尺寸1476x2736
陕西西安满天红201不锈钢防腐旗杆
图片尺寸3087x2258
这种伸缩旗杆可以带进成都地铁吗
图片尺寸1080x1439
上热门 旗杆示意图#旗杆 #旗杆厂家 #西安旗杆 - 抖音
图片尺寸1280x923
不锈钢旗杆升降手动旗杆旗杆手摇升降全套360度顺风旋转球
图片尺寸1024x768
一种便于移动的颁奖旗杆-爱企查
图片尺寸1483x1211
电动旗杆的工作原理-石家庄现代不锈钢旗杆
图片尺寸629x608
湖南旗杆_旗杆生产厂家 _广告旗杆批发
图片尺寸624x527
一种随风向迎风转动式智能旗杆的制作方法
图片尺寸781x1000
摩托车伸缩旗杆.千万不要再装上这种小马拉大车的旗杆了,非常 - 兑趑
图片尺寸1080x1920
双层护套伸缩旗杆
图片尺寸132x600
cn2386129y_新型自动升降式旗杆失效
图片尺寸645x938