伸缩梯原理图

cn112112553a_一种楼阁用自动折叠伸缩梯
图片尺寸1498x2405
cn201614879u_一种改良的伸缩梯失效
图片尺寸1916x1864
半自动促销复式别墅小阁楼伸缩楼梯钢木家用室内隐形折叠升降扶手
图片尺寸800x586
一种可折叠式伸缩梯的制作方法
图片尺寸713x1000
cn201339429y_一种收合方便,安全的伸缩梯有效
图片尺寸2018x2258
一种施工用临时伸缩楼梯的制作方法
图片尺寸786x1000
cn101294479b_一种伸缩梯有效
图片尺寸1207x2881
一种平台伸缩梯的制作方法
图片尺寸707x1000
装配式楼阁的自动伸缩楼梯的制作方法
图片尺寸1000x796
一种可折叠式伸缩梯制造技术
图片尺寸1000x949
一种伸缩式应急救援梯的制作方法
图片尺寸1000x918
供应天津伸缩楼梯 阁楼装修效果图
图片尺寸800x534
cn202249727u_可视自动收缩的伸缩梯失效
图片尺寸1209x1140
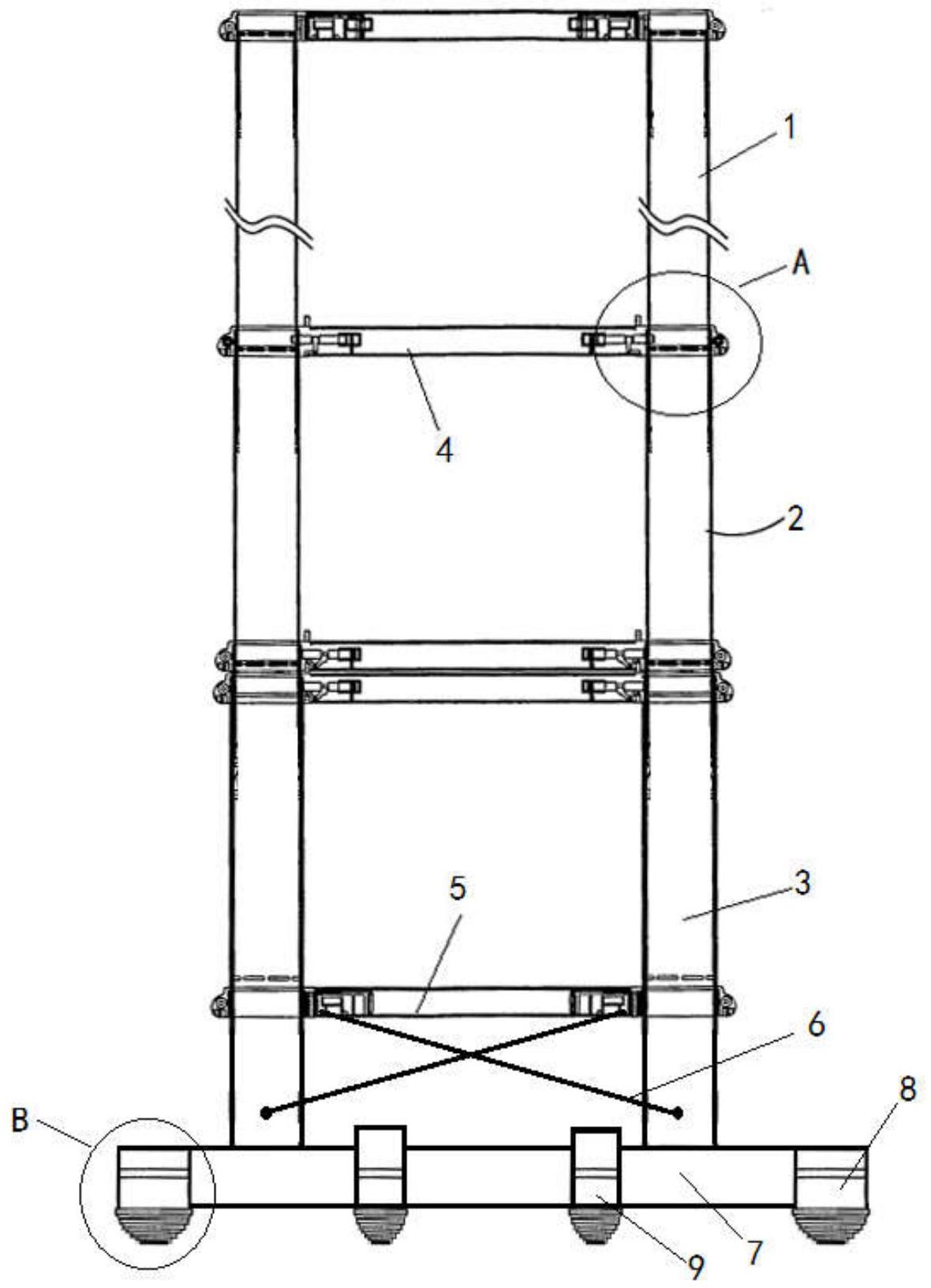
一种带稳定结构的伸缩梯及带该伸缩梯的人字梯
图片尺寸1180x1633
【发明专利】一种单人使用单脚可伸缩梯不可交易
图片尺寸1000x953
cn205605097u_多节伸缩梯有效
图片尺寸1000x559
html上一篇:电动款伸缩楼梯2020-07-31下一篇:钛镁合金伸缩楼梯2020
图片尺寸750x649
一种伸缩梯的制作方法
图片尺寸1000x787
大嘴哥阁楼伸缩楼梯折叠楼梯隐形升降伸缩楼梯阁楼家用自动伸缩梯手动
图片尺寸800x800
伸缩人字梯
图片尺寸2145x2691