伸缩牵引绳弹簧图解

狗狗自动伸缩牵引大型犬可调节遛狗金毛防爆狗牵引绳
图片尺寸800x800
伸缩牵引带的制作方法
图片尺寸727x1000
一端以梢子安装在吊架上,另一端使用吊耳连接到大梁上,使弹簧能伸缩
图片尺寸604x208
宠物牵引绳的制作方法
图片尺寸1000x1000
你要先顺时针绕5到6圈回弹盘,让弹簧上紧了,再将把手上的穿绳孔归位
图片尺寸800x450
你要先顺时针绕5到6圈回弹盘,让弹簧上紧了,再将把手上的穿绳孔归位
图片尺寸800x450
酷伴coolbud伸缩牵引绳摩登款tb05
图片尺寸640x640
弹簧圈.jpg
图片尺寸1480x1000
加弹簧狗绳子宠物牵引带涤纶四股编中型犬牵引大狗牵引绳编
图片尺寸1000x1000
用solidworks的08版怎么画弹簧圈求图解
图片尺寸886x531
包括固定支架,卷筒,弹簧,中心转轴,摆杆,牵引绳,摇柄和壳体,摇柄和
图片尺寸385x224
教程如何自己修flexiclasiiclang伸缩狗绳
图片尺寸800x450
幼儿折纸基础教程:怎么折纸弹簧(步骤图解)1
图片尺寸640x901
弹簧拉力器使用方法图解
图片尺寸500x375
二层牛皮编织带弹簧项圈宠物牵引绳 大型犬加粗牛皮狗绳
图片尺寸800x525
弹簧拉力器使用方法图解
图片尺寸500x375
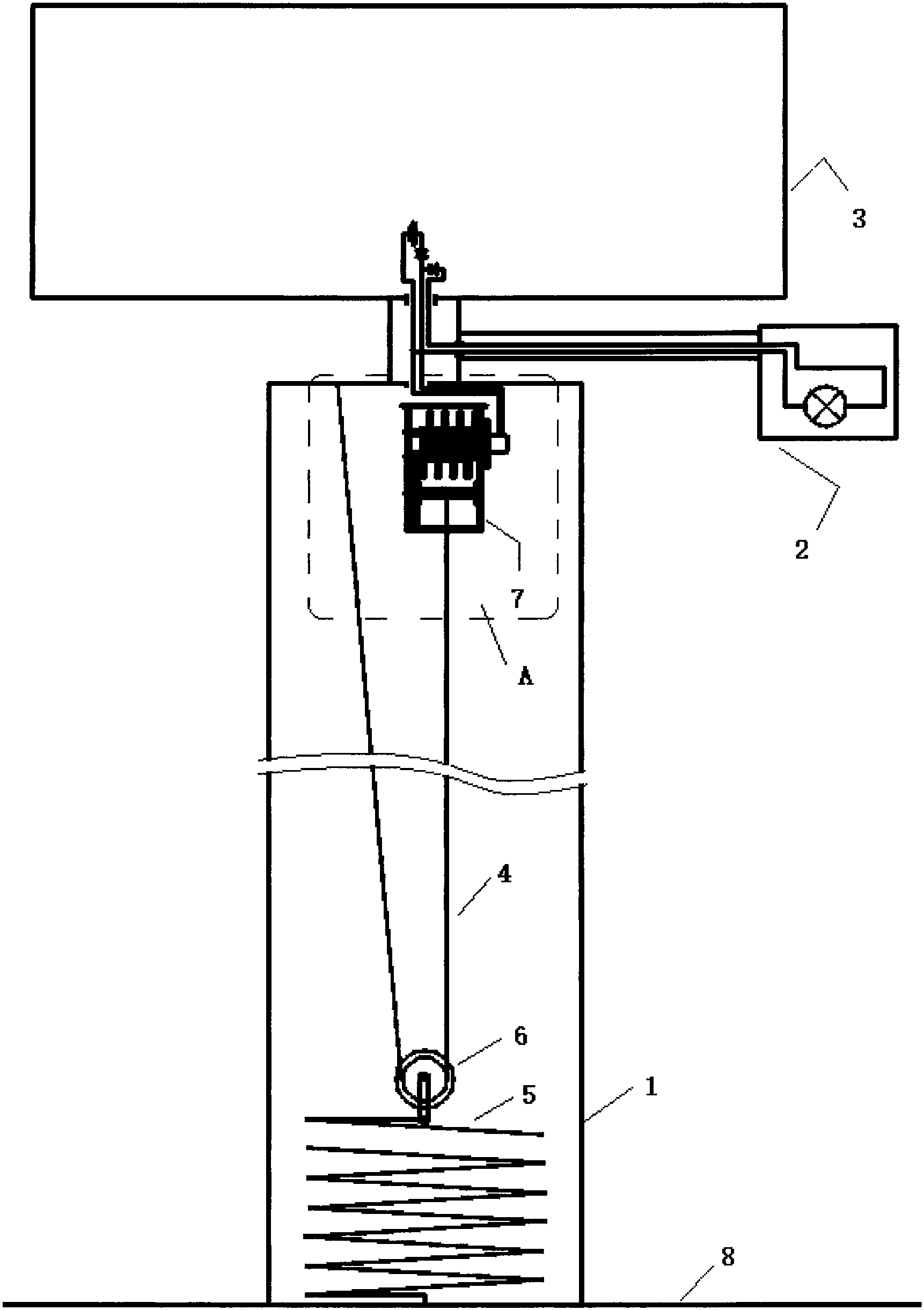
包括灯杆,路灯,光伏组件,牵引绳,弹簧,动滑轮,绞盘减速器和电机,在
图片尺寸1722x2441
教程如何自己修flexiclasiiclang伸缩狗绳
图片尺寸800x450
卷筒隐形纱窗配件左右伸缩老式折叠纱窗纱网毛条卡扣塑料配件弹簧
图片尺寸745x460
山茶花毛线编织弹簧夹附图解
图片尺寸1080x1299