伸缩连杆

连杆伸缩机构 (1)_腾讯视频
图片尺寸1280x720
伸缩连接杆大额优惠券
图片尺寸800x800
享动直线往复伸缩电机往返推拉杆反复式运动机构电动推杆马达曲柄连杆
图片尺寸750x610
气弹簧液压杆气动支撑杆伸缩杆汽车门橱柜床上翻门气动杆两头球头8个
图片尺寸960x960
厂家供应 调节拉伸氮气弹簧 擎盖气动支撑伸缩杆 汽车撑杆批发
图片尺寸750x750
厂家直销 断桥窗撑四连杆不锈钢平开门窗户滑撑 门窗伸缩滑撑
图片尺寸800x533
利用多组连杆制作的双向伸缩机构,一起看看吧
图片尺寸658x370
伸缩反光连接隔离杆 pvc橡胶路锥连接杆警示连杆交通安全伸缩连接 件
图片尺寸800x800
可伸缩支撑杆皮卡弹簧撑货杆
图片尺寸531x440
直四杆直线连杆机构,它是如何运行的?
图片尺寸640x360
热卖断桥窗撑四连杆 不锈钢平开门窗户滑撑 门窗伸缩滑撑厂家推荐
图片尺寸750x750
两种4连杆伸缩机构,看看它是怎么伸缩的吧
图片尺寸658x370
伸缩杆原理图详解告诉你伸缩杆应该怎么用
图片尺寸500x473
全家福:一个底座,一根伸缩杆,一个手机支架和一只可调固定连杆.
图片尺寸3511x2633
固特 液压杆支撑杆气撑床橱柜上翻门气压杆气动弹簧伸缩杆100n
图片尺寸800x800
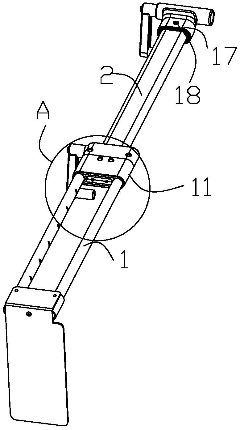
一种伸缩连杆-爱企查
图片尺寸778x1391
不锈钢铝合金门窗滑撑平开窗防风连杆撑杆伸缩臂 伸缩臂
图片尺寸750x433
伸缩拉杆加工
图片尺寸830x390
不锈钢幕墙伸缩臂 铝合金窗户滑撑 防风连杆下悬窗支撑杆支架滑撑
图片尺寸790x790
欧汉固定伸缩橡胶路锥连接杆pvc路锥警示连杆红白反光杆 3米
图片尺寸800x800