伸顶通气管图示

高层建筑排水设计中为什么要设伸顶通气管
图片尺寸1051x673
伸顶通气管透气帽
图片尺寸390x292
cn102444265a_一种屋面伸顶通气管组件及防止通气立管漏水的方法失效
图片尺寸871x1584
口咽通气管的使用ppt
图片尺寸1080x810
一种自适应型伸顶通气管
图片尺寸1000x871
看似简单的屋面通气管你确定你做得对
图片尺寸438x502
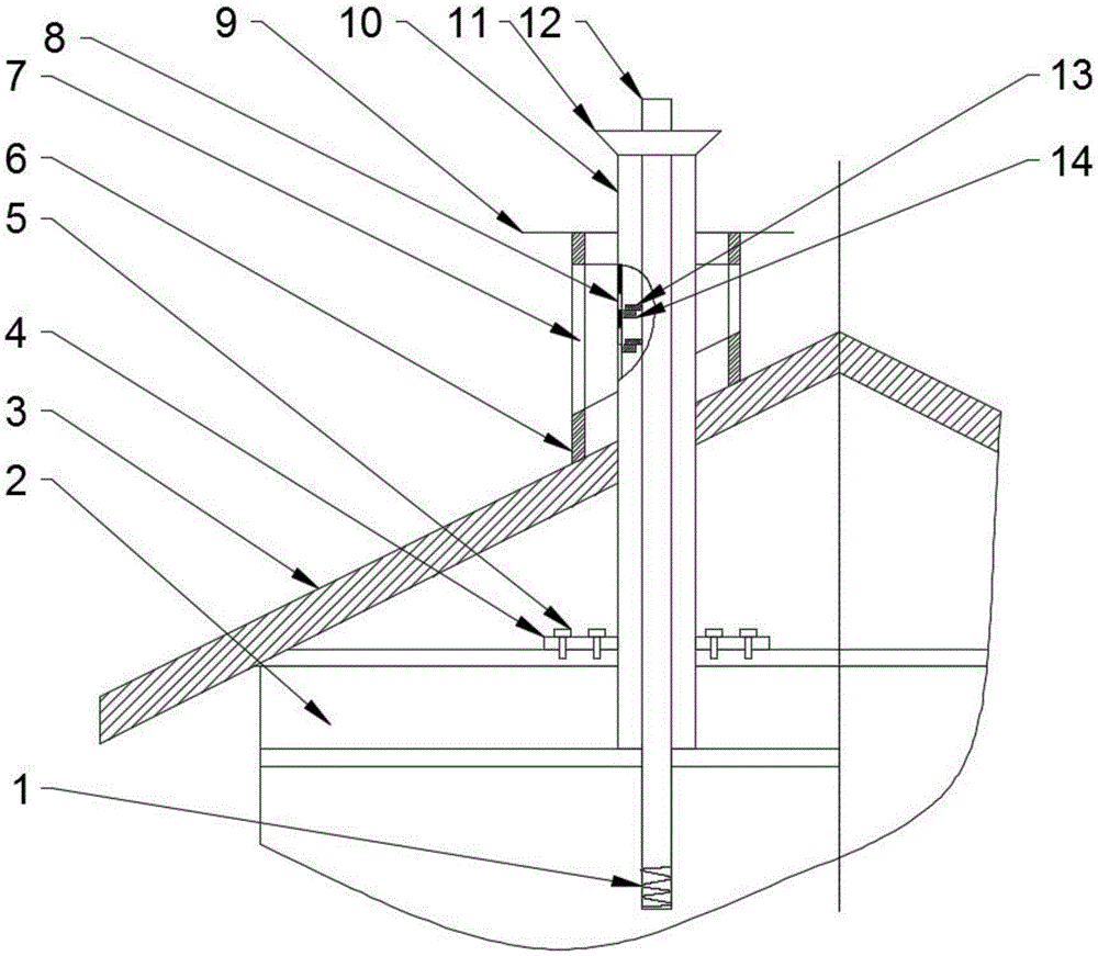
一种屋面伸顶通气管组件制造技术
图片尺寸672x1000
口咽通气管的使用ppt
图片尺寸1080x810
通气管
图片尺寸436x530
无忧文档 所有分类 医药卫生 临床医学 口咽通气道的
图片尺寸1080x810
通气管
图片尺寸560x823
口咽通气道的使用|通气道|通气管|口咽|咽管|口腔|-健康界
图片尺寸522x365
免费文档 所有分类 气道管理及气管插管 4,选择口咽通气管:长度相当于
图片尺寸444x252
鼻咽通气管/口咽通气管----小小东西功劳大
图片尺寸442x380
看似简单的屋面通气管你确定你做得对
图片尺寸414x493
w一250型碳钢弯管通气管 dn200蓄水池通风管 不锈钢消防水池a型通风帽
图片尺寸562x667
鼻咽通气管的使用方法-万思特网
图片尺寸750x476
图文并茂的排水通气管精要.doc
图片尺寸696x555
建筑通气管道施工要点讲解
图片尺寸640x477
通气管
图片尺寸400x244