伽马刀头架图片

脑部伽玛刀手术最难受的是第一个步骤 安装固定钢架.
图片尺寸600x471
头架固定单次伽玛刀治疗
图片尺寸604x465
伽玛刀头架安装可怕吗_脑转移瘤 - 好大夫在线
图片尺寸1062x779
doro头架固定,安全可靠.
图片尺寸1541x1618
体验伽玛刀
图片尺寸600x492
脑立体定向手术头架
图片尺寸1280x1342
伽玛刀头架安装可怕吗_脑转移瘤 - 好大夫在线
图片尺寸907x681
图文:爱心资助切除巨瘤(4)
图片尺寸320x450
伽玛刀对癫痫大鼠模型的治疗作用及机制研究.
图片尺寸250x287
高龄三叉神经痛患者怎么治伽玛刀r刀治疗
图片尺寸1082x942
咖玛刀术前定位是手术的关键准备内容之一
图片尺寸600x800
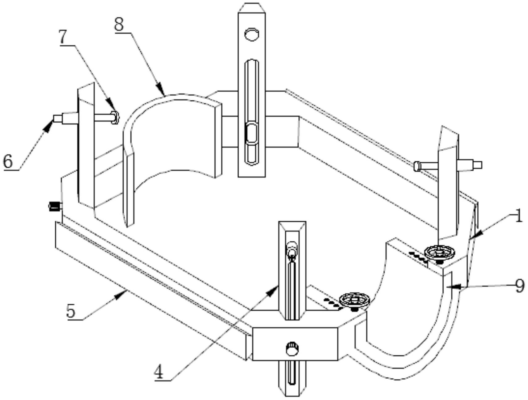
一种伽玛刀定位头架
图片尺寸1265x1806
手术头架 三顶头架 颅脑头托架 颅脑固定夹 颅脑固定装置
图片尺寸1920x1078
手术头架-脑外科手术头架_操作_调节_材料
图片尺寸1204x1171
伽马刀实拍
图片尺寸948x630
【01-03】头部伽玛刀治疗的过程与步骤 - 好大夫在线
图片尺寸610x442
想起来都是噩梦(固定头架)半年后复查核磁
图片尺寸1080x1442
tj10600手术头架与头圈
图片尺寸425x567
手术头架 颅脑头托架
图片尺寸1920x1078
cn211659091u_一种伽玛刀治疗定位头架
图片尺寸1708x1296