体视显微镜的结构图

pxs5型连续变倍体视显微镜使用说明书
图片尺寸696x810
奥林巴斯体视显微镜szx7整体结构分析
图片尺寸628x550
连续变倍体视显微镜的光学结构介绍
图片尺寸398x461
美佳朗专业体视显微镜mcl-6stv三目光学解剖镜工业电子检测维修
图片尺寸750x897
kln0745b1745倍连续变倍双目体视显微镜手术手机维修
图片尺寸789x736
萨伽sagasg700体视显微镜解剖镜可接电脑手机维修电子检测专业双目三
图片尺寸790x1271
体视显微镜的结构示意图
图片尺寸800x600
体视显微镜的介绍以及应用
图片尺寸468x292
徕卡体视显微镜m205结构图产品特点 infocation定制解决方案特别的
图片尺寸1261x782
江西凤凰连续变倍体视显微镜xtl-165-vt三目90倍/180倍工业解剖镜
图片尺寸790x900
知识链接:显微镜的结构.doc
图片尺寸993x1404
体视显微镜xtl201
图片尺寸798x714
正品szm45-b1专业工业双目体视显微镜45倍连续变倍 手机维修解剖
图片尺寸750x1024
双目体视显微镜简介
图片尺寸264x300
显微镜的结构图
图片尺寸600x605
德国宝视德双目体视显微镜工业检测手机板卡维修解剖显微镜解剖
图片尺寸750x962
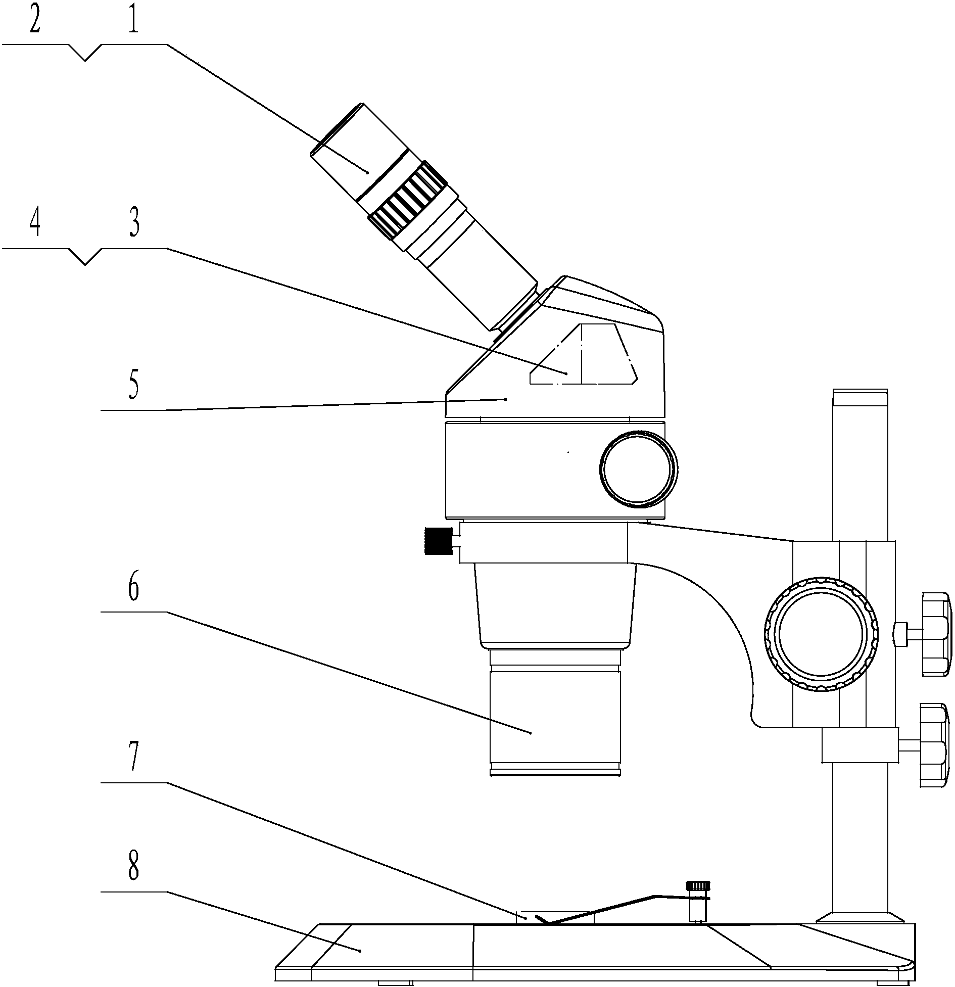
一种采用一体式四面反射棱镜的体视显微镜
图片尺寸1890x1953
奥林巴斯体视显微镜szx7
图片尺寸551x408
普通光学显微镜的结构与使用
图片尺寸1093x580
smz1270/1270i最高变倍比体视显微镜尺寸图
图片尺寸476x302