保护接零

保护接零(tn系统) l1 l2 l3 n
图片尺寸1080x810
保护接地与保护接零原理和作用是什么?两者可以混用吗?
图片尺寸1080x809
p>保护接零(protective connect to neutral) 把电工设备的金属外壳
图片尺寸273x300
下图是还没有投入运行的低压配电柜中的保护接零线接线排(左边)及工作
图片尺寸640x853
保护接地和保护接零的保护对象 保护接零这个概念就是错误的!
图片尺寸1493x1280
什么是接零保护接零保护原理
图片尺寸1062x688
接零保护系统
图片尺寸1079x811
保护接零.jpg
图片尺寸760x574
保护接地和保护接零地区别及适用范围.doc
图片尺寸993x1404
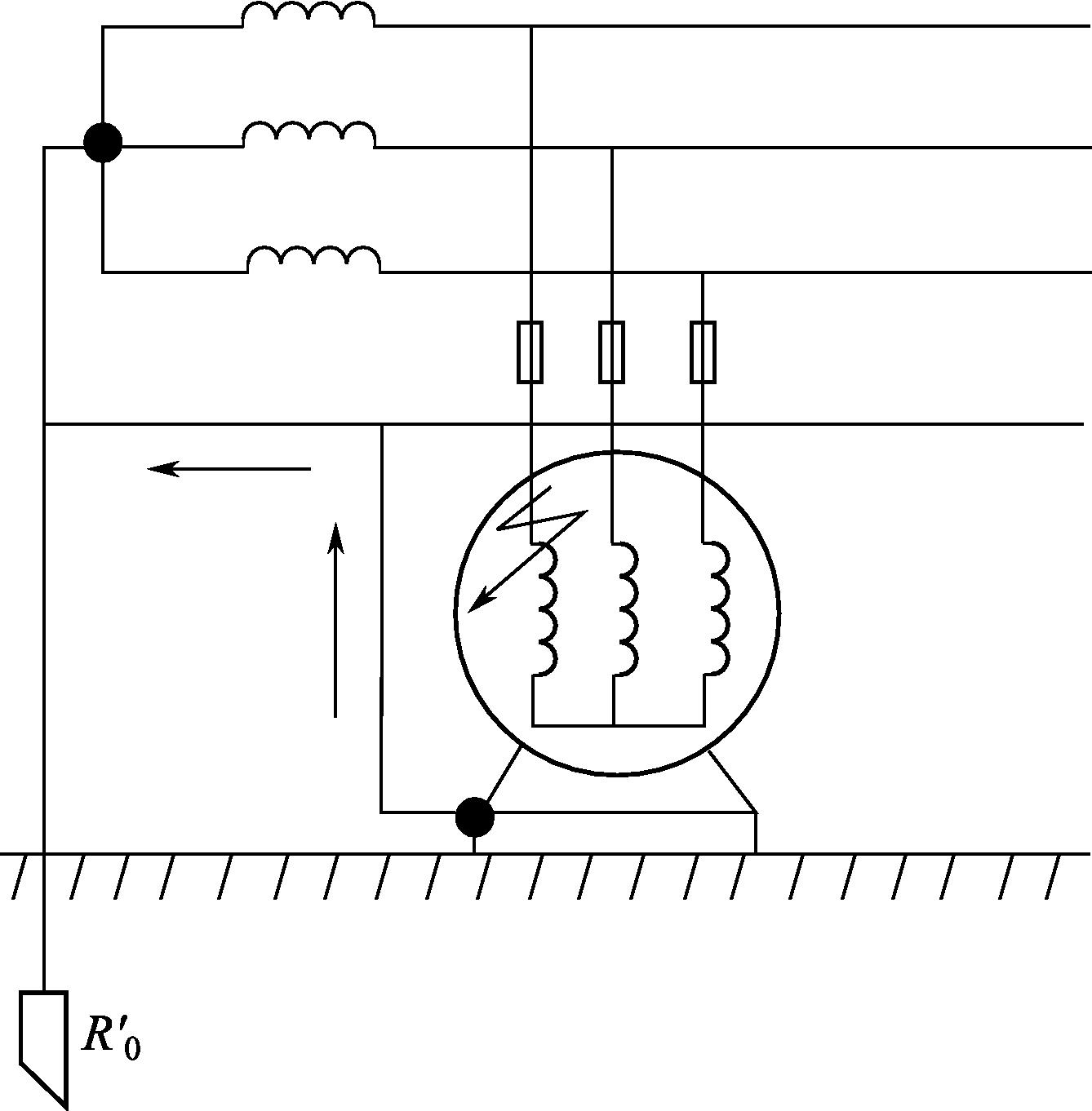
图1-12 电动机的保护接零
图片尺寸1338x1362
什么是保护接零保护接地两者可以混用吗看完终于知道了
图片尺寸894x466
精品ppt保护接地和保护接零矿大版
图片尺寸960x720
保护接地和保护接零有什么区别吗?
图片尺寸640x449
高等教育 工学 安全用电与防雷接地ppt 电气的保护接地与保护接零介绍
图片尺寸1080x810
工作接地,保护接地,保护接零和重复接地,看完本文豁然开朗!
图片尺寸460x369
接地和接零有什么区别?_保护
图片尺寸560x404
电气的保护接地与保护接零介绍,建筑防雷布置 护保零 接电 1 机电机
图片尺寸1080x810
保护接地和保护接零的区别及适用范围
图片尺寸650x461
高等教育 工学 安全用电与防雷接地ppt 电气的保护接地与保护接零介绍
图片尺寸1080x810
电气设备未设置保护接零.
图片尺寸2048x1152