倒梯形结构

摘要附图摘要一种热拌沥青倒梯形布料器,槽体为倒梯形结构,槽体内均匀
图片尺寸660x915
求助:想制作一倒梯形体混凝土构件,如图所示,构件厚度为50,底边斜交45
图片尺寸1280x960
0t 8at,智能化大幅升级,新宝马5系值得选吗?_太平洋号
图片尺寸1043x686
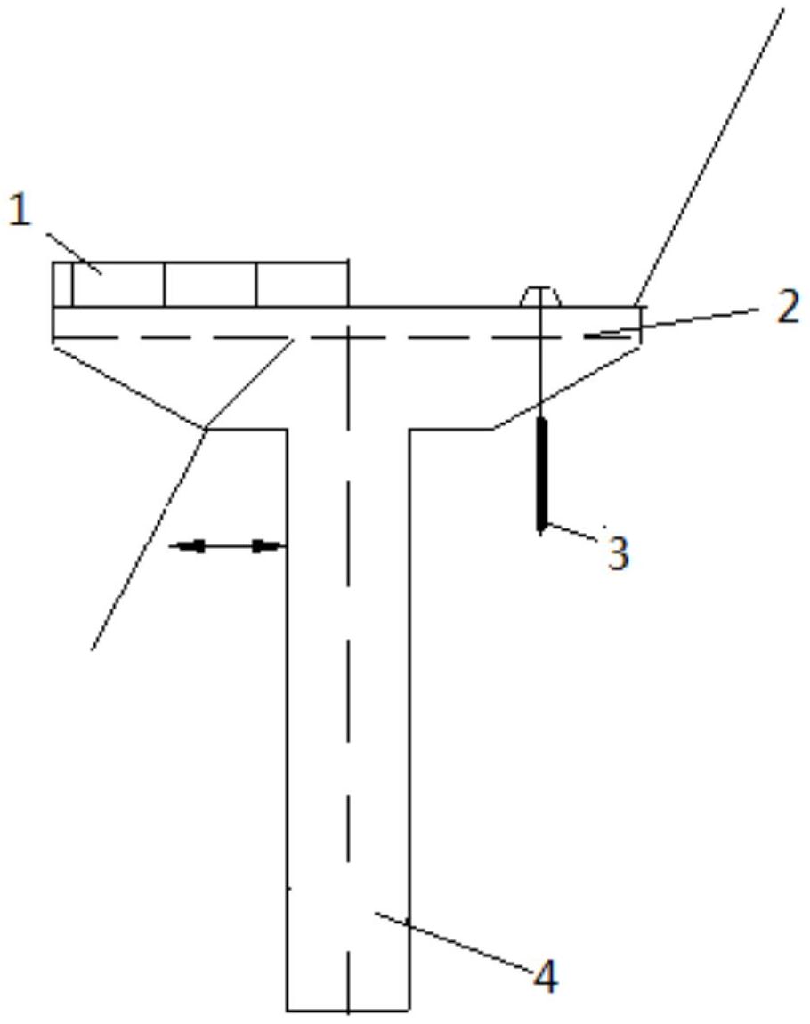
梁板,盖梁和桩基础,所述盖梁设置在桩基础顶部,所述盖梁为倒梯形结构
图片尺寸910x1151
一种双向倒梯形路堑边坡滑坡模型试验装置-爱企查
图片尺寸334x515
屋顶是倒梯形的这种梯形的板和梁要怎么定义要怎样画
图片尺寸813x545
一种倒梯形轴状结构的收卷料器-爱企查
图片尺寸800x741
车头部分采用了半封闭式的亮黑背板结构,倒梯形的轮廓加上镀铬饰条的
图片尺寸1266x840
双层倒梯形钢桁梁结构共设顶推平台,结构,桥面三个观摩区此次观摩会
图片尺寸1080x606
捕捉个股机会的人,上面那只金股,就是一种标准的倒梯形底部结构
图片尺寸759x354
底部则是倒梯形进气口设计,内部使用了横幅式结构进行装饰,点缀出了
图片尺寸752x564
纯电与插混之争上汽大通大家7广汽传祺e8深度对比评测
图片尺寸660x881
中间部分则是尺寸比较大倒梯形进气口,内部使用了横幅式结构进行装饰
图片尺寸660x613
79万起,长安uni-z上市!_搜狐汽车_搜狐网
图片尺寸2400x1600
在前脸部分换装了全新的设计理念,大嘴格栅变为了直瀑式的倒梯形结构
图片尺寸1000x563
在前脸部分换装了全新的设计理念,大嘴格栅变为了直瀑式的倒梯形结构
图片尺寸960x541
在前脸部分换装了全新的设计理念,大嘴格栅变为了直瀑式的倒梯形结构
图片尺寸1000x563
左右支架上都设有进料机构,进料机构上设有从上到下的成倒梯形体结构
图片尺寸2171x1390
纯电与插混之争上汽大通大家7广汽传祺e8深度对比评测
图片尺寸660x372
1.1 棱柱,棱锥和棱台(1)》课件-优质公开课-苏教必修2精品ppt
图片尺寸1080x810