倒相式音箱内部结构图

两分频二级倒相式音箱设计图纸分享
图片尺寸640x511
为求好声音听同轴喇叭索威8寸同轴两分频双倒相式音箱制作
图片尺寸600x450
a8内部设计
图片尺寸492x522
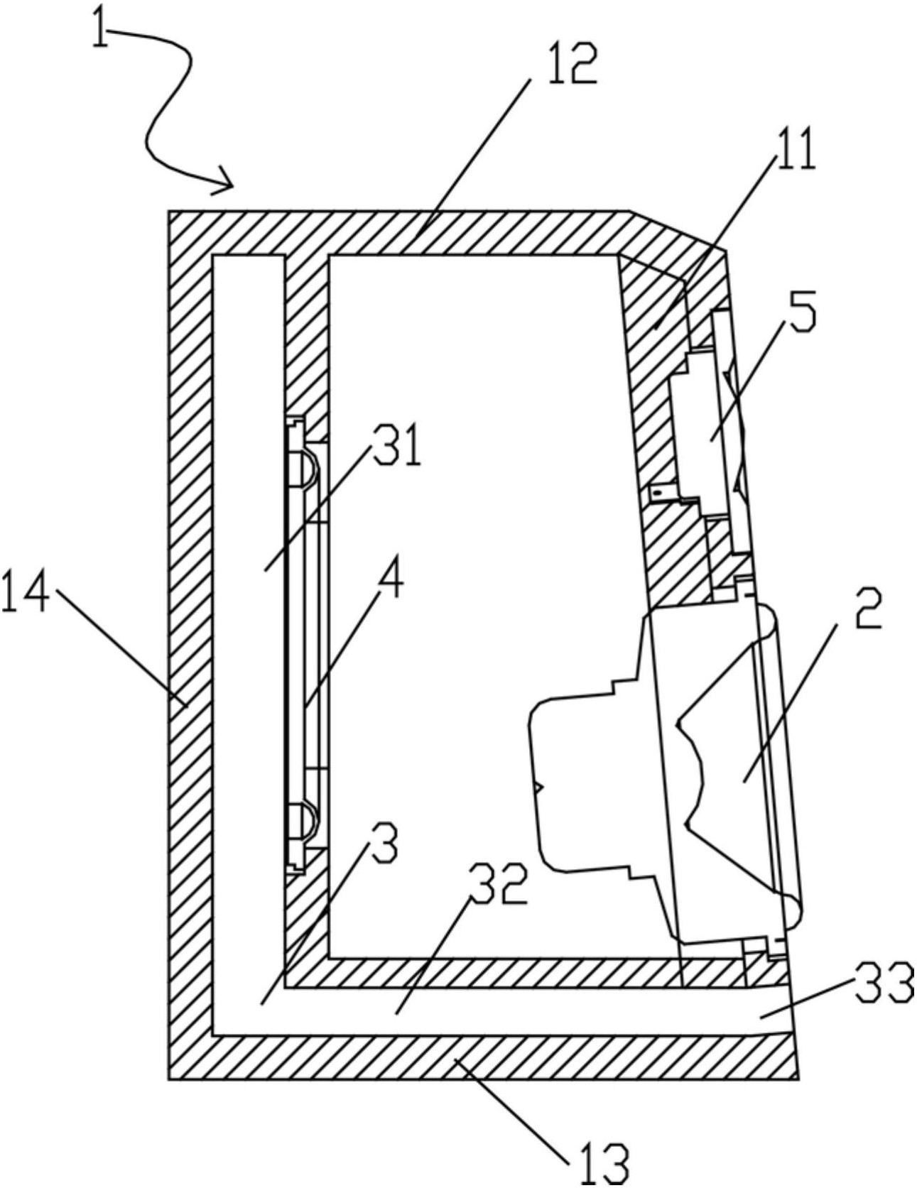
一种超薄型倒相式音箱制造技术
图片尺寸785x1000
一种倒相式音箱-爱企查
图片尺寸1291x1673
对流式倒相式音箱
图片尺寸1000x950
倒相管虽然目前采用这种主动单元震动来影响被动单元震动的音箱结构并
图片尺寸986x1038
16 2010-08-31 低音炮音箱结构图 185 2011-12-08 求解 就一个倒向孔
图片尺寸484x427
多媒体会议室倒相式音箱:倒相式音箱是将喇叭单元的背面辐射波通过倒
图片尺寸668x418
二阶倒相设计音箱
图片尺寸447x408
倒相式音箱:如果家里密封式音箱的低频感觉差点并且瞬态表现不错的
图片尺寸1096x502
音箱材料可以用多层板(2公分厚)低音喇叭是惠威ss10,倒相管淘宝有卖
图片尺寸955x1194
唯歌c2090音箱拆解分析:箱体内部结构一览
图片尺寸500x375
自制低音音箱的倒相管和低音喇叭应怎样放最好?
图片尺寸500x359
为暴雪疯狂 重温史上十款经典多媒体音箱(7)
图片尺寸500x341
烧友评说天朗tannoy revolution系列xt 8f落地式音箱
图片尺寸373x1024
大功率多输入条形音箱如何设计,拆解海信 2.0 soundbar学习一下
图片尺寸640x360
此倒相式音箱体积较大,音箱采用厚度20毫米木板制作,内部以硬木木方
图片尺寸837x974
按照箱体的不同结构来分类,除了密闭式音箱外,还包括倒相式音箱,迷宫
图片尺寸640x254
力士纤丽影院
图片尺寸700x450