倒钩简笔画

倒钩简笔画
图片尺寸500x500
商标logo
图片尺寸1205x1018
倒钩简笔画
图片尺寸500x500
钓鱼钩图标创意设计矢量图
图片尺寸1024x1024
tb417678266男鞋倒钩黑白-阿里巴巴
图片尺寸540x370
商标logo
图片尺寸651x800
正楷简笔画鱼钩简笔画护手钩简笔画教程倒钩简笔画
图片尺寸300x276
鱼钩,象征,轮廓,风格,隔绝,白色背景,背景,钓鱼,矢量,插画,设计
图片尺寸1024x1024
画大全简笔画启蒙宝宝幼儿园学前班画画书小本公主涂色秀6本>800_800
图片尺寸800x800
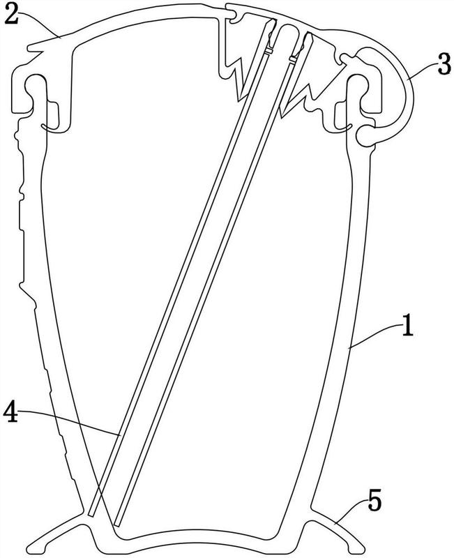
的用于卡固毛细管的并排的卡槽,所述卡槽的两侧壁设有向内合拢的倒钩
图片尺寸709x1215
钓鱼钩的工具图标
图片尺寸512x512
包括第一矩形杆和第二矩形杆,第一倒钩和第二倒钩采用金属材料制成
图片尺寸470x800
简笔画大全 倒钩射门
图片尺寸1138x640
商标logo
图片尺寸1530x508
钓鱼钩矢量插画-正版商用图片1lig4g-摄图新视界
图片尺寸700x875
散热器,其包括底板,所述底板上有底板槽,所述底板槽的开口为倒钩状;所
图片尺寸947x1086
本外观设计产品的用途本外观设计产品用于塑胶检具,具有倒钩及需要前
图片尺寸540x471
连续单线钓钩图标的概念
图片尺寸1100x1100
蜜蜂螫人后,刺针的倒钩挂住人的皮肤,使刺针拔不出来,但蜜蜂又要飞走
图片尺寸640x419
弧形气囊外侧具有三均分分布的飞边,气囊另一侧具有倒钩形的固定脚
图片尺寸799x678