倾斜角度调节机构

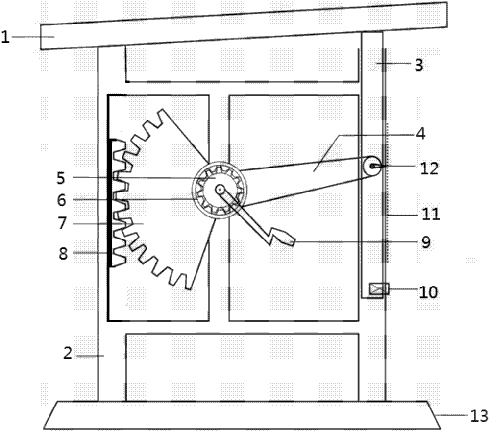
一种大行程高负载的倾斜角度调整装置的制作方法
图片尺寸1000x523
偏置中心点的角度调整机构
图片尺寸472x473
角度调节机构
图片尺寸820x554
角度调节机构设计图纸合集的封面图
图片尺寸285x190
可调节台面倾斜度的实验设备
图片尺寸1000x880
xy轴及倾斜角度调节机构三维模型
图片尺寸820x512
角度调节机构sw
图片尺寸451x322
cn207397230u_倾斜角度可自由调节的计算机键盘失效
图片尺寸1584x1066
cn305022154s_平衡车角度调节机构有效
图片尺寸749x1019
一种可调节光伏支架倾斜角的机械机构制造技术
图片尺寸1000x615
角度调整机构模型设计
图片尺寸820x624
cn107945630a_一种具有角度调节功能的高中物理课堂用的斜面演示装置
图片尺寸475x320
可调节高度角度机构
图片尺寸673x660
角度调节机构
图片尺寸760x733
一种圆锅造粒机的角度调节机构
图片尺寸1000x616
刀具倾斜角度调节装置的制作方法
图片尺寸1000x859
角度调节机构模型solidworks2016102210035一片绿洲2019-11-26手动
图片尺寸285x224
角度调整机构模型设计
图片尺寸820x1500
榫槽机台面前倾角度调整机构 加工立体斜位榫时工作台应做倾斜调整
图片尺寸1890x898
手动角度调节及锁紧装置
图片尺寸619x702