儿童存钱罐内部结构图

三维工匠创意礼品 三维工匠指纹儿童存钱罐储钱箱智能电动密码盒保险
图片尺寸790x1499
凡皇2018新款901款儿童存钱罐密码箱自动开门彩灯故事古诗储物箱
图片尺寸750x1202
储水式小厨宝6l8升上出水厨宝搪瓷内胆内胆保用3年8l数码显示
图片尺寸790x730
天猫创意存钱罐儿童大号防摔储蓄罐网红
图片尺寸790x894
迪士尼品牌官方旗舰新款儿童储蓄存钱罐储钱可存可取只进不出女男孩网
图片尺寸750x1323
抖音图文来了 #六一儿童节礼物 送孩子一个存钱罐从小养成存 - 抖音
图片尺寸1242x1656
值得看的儿童财商书三个存钱罐
图片尺寸1080x1404
纸杯存钱罐#亲子手工 #动手能力培养 #儿童彩纸手工 #自制 - 抖音
图片尺寸1170x2532
自制黑科技风车存钱罐家居好物儿童手工
图片尺寸1080x1439
儿童存钱罐.美妈们,准备好这款#存钱罐 了吗,快过年了,宝宝 - 抖音
图片尺寸1440x1924
卡哇伊儿童存钱罐90.我的新品来啦!儿童不锈钢存钱罐,新疆包 - 抖音
图片尺寸1020x1360
2,球形:包括有筋纹的圆球形及半球形,其成型方法是
图片尺寸443x507
申江储气罐申江碳钢法兰定做储气罐型号齐全
图片尺寸975x880
1卧式储罐结构示意图 第1页
图片尺寸857x458
储气罐
图片尺寸1451x2063
2024龙年存钱罐9390.2024新款儿童储蓄罐 - 抖音
图片尺寸1020x1360
咸宁纸类包装-咸宁纸类包装市场行情-高锋印务(推荐商家)
图片尺寸700x600
儿童新年必备存钱罐73.
图片尺寸1440x1924
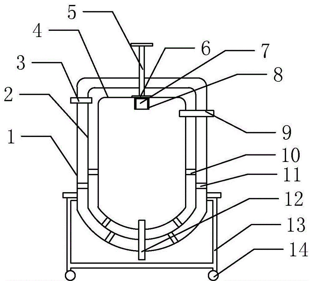
cn104439223b_铝液储存罐有效
图片尺寸1000x901
儿童节快到了,恭喜小朋友们喜提人生第一个存钱罐,存的是幸福, - 抖音
图片尺寸750x1000