光悬浮

这就厉害了!最新研究:能用光悬浮和推动物体
图片尺寸628x320
基于悬浮光力学的惯性传感颠覆性技术
图片尺寸620x496
加州理工学院科学家找到用光悬浮物体的方法
图片尺寸615x480
空中的光,悬浮设计灵感的灯光
图片尺寸646x642
奇幻岛漂浮在空中,现代城市天际线和网络光从地面现代城市中散发出来
图片尺寸700x500
北京理工大学360度悬浮光场显示
图片尺寸550x627
这就厉害了!最新研究:能用光悬浮和推动物体
图片尺寸600x450
基于悬浮光力学的惯性传感颠覆性技术
图片尺寸798x378
玻璃纳米球的光悬浮使量子控制成为可能
图片尺寸930x465
和蓝色的光柱,与路灯折射出的光柱不同,这些光柱更像是自然光悬浮空中
图片尺寸1080x1224
接下来关键来了 研究人员一边用红绿蓝三色光照射颗粒,让它显现出特定
图片尺寸650x428
一款不被定义的高低床头发光悬浮床78
图片尺寸1080x1439
了更多悬浮生活中的平凡物体其中磁悬浮技术比较成熟磁悬浮,光悬浮,声
图片尺寸640x421
油烟在线监测仪光散射原理
图片尺寸818x581
木工结束全屋无主光悬浮吊顶
图片尺寸1080x1439
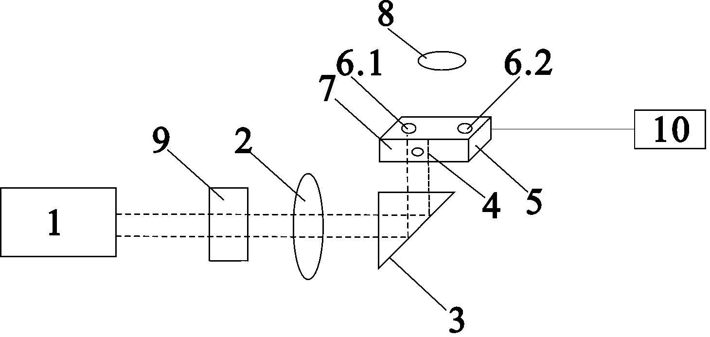
cn104765165b_一种微球快速光悬浮的方法及装置有效
图片尺寸1460x693
师:michael anastassiadesarrangements作为一款漫射光悬浮照明装置
图片尺寸1080x1439
礼品盒包装月亮灯光大月亮光悬浮月亮
图片尺寸300x300
目前的悬浮技术主要包括磁悬浮,光悬浮,声悬浮,气流悬浮,电悬浮,粒子
图片尺寸800x320
建筑悬浮在半空中的住宅你敢不敢住
图片尺寸600x898