光纤光栅传感器结构

一种石墨烯敏增倾斜光栅光纤spr传感器及解析方法和应用
图片尺寸1211x719
光栅式传感器
图片尺寸350x243
光纤光栅传感技术在桥梁结构健康监测中的应用
图片尺寸650x408
1 传感器的基本结构光纤bragg光栅压力传感器的平面膜片与壳体间通过
图片尺寸945x587
光纤传感器基本构成及原理
图片尺寸898x511
光栅位移传感器的组成结构
图片尺寸451x232
光栅尺位移传感器结构图
图片尺寸500x300
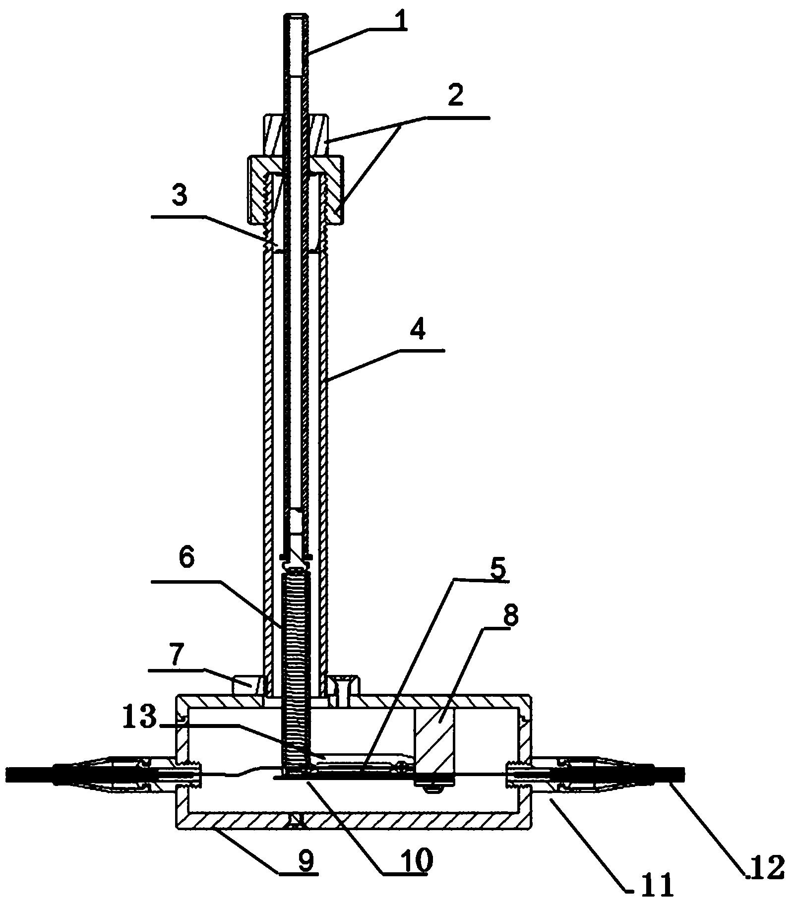
一种高灵敏度的光纤光栅位移传感器-爱企查
图片尺寸1607x1831
光栅位移传感器pptppt
图片尺寸860x645
光纤光栅传感器
图片尺寸300x258
多参量融合的光纤光栅传感器测试技术研究
图片尺寸1076x638
光纤光栅压力传感器的研究进展与趋势
图片尺寸802x992
光纤光栅传感器技术
图片尺寸600x357
cn101424622a_一种光纤光栅传感器失效
图片尺寸1684x1012
光纤光栅传感器原理ppt
图片尺寸1080x810
光纤光栅传感器的特点
图片尺寸450x327
温度自补偿型光纤光栅应变传感器
图片尺寸1080x430
光纤光栅传感器技术基础知识
图片尺寸920x690
光纤光栅应变传感器_cn202130160540.7_cn306694092s_飞镖网
图片尺寸1530x1541
3 光栅ccd光纤传感器ppt
图片尺寸1080x810