光面爆破装药图

"光面爆破"残眼清晰可见.
图片尺寸700x395
隧道泸沽端光面爆破技术,安全,工艺技术交底
图片尺寸413x445
光面爆破装药结构示意图
图片尺寸754x400
中铁二十三局集团深圳外环项目创新隧道光面爆破工艺节支又创优
图片尺寸1280x720
光面爆破装药结构图
图片尺寸560x420
边坡光面爆破装药结构及起爆方法图
图片尺寸560x365
护壁爆破新技术
图片尺寸709x1308
基于粒状铵油炸药的巷道光面爆破技术及应用
图片尺寸980x489
边坡光面爆破装药结构及起爆方法图
图片尺寸560x377
隧洞开挖光面爆破装药结构的改进与应用
图片尺寸1890x1043
光面爆破装药结构示意图
图片尺寸560x377
古金高速大梁子隧道光面爆破照片.jpg
图片尺寸1440x1080
高速公路隧道爆破设计方案
图片尺寸653x379![[江西]铁路扩能改造工程车站路基开挖控制爆破专项施工方案](https://imgs.wantubizhi.com/img/735A5D1F980B52A636CC46F12F2D1A73C94C01F38E21A5CCA0CB84459E622C97B793E9AAB9D8FE7FAAC8109F3238D23F40D4CAF141861BCBCCE6F9A519A8FBC87AB54BA2DE712BAFD6C01EBE9EC9ED22289DB841741EFEAD6103914A9C74B9EB)
[江西]铁路扩能改造工程车站路基开挖控制爆破专项施工方案
图片尺寸560x240
项目聚焦|东南矿1080水平运输巷光面爆破创佳绩|炮孔|矿体|巷道|炮眼
图片尺寸640x639
超8800米!云南建(个)元高速公路最长隧道全幅贯通
图片尺寸1263x813
光面爆破装药结构图
图片尺寸560x300![[广东]新建铁路路堑光面爆破法土石方开挖施工方案](https://imgs.wantubizhi.com/img/ADDA3C5D760C6828B77B505A29D43E83D0E2693AF20E2BA2E2EE90595720E056975C202226688E1DC82F645630B6459D3019EDEDF1A80DCBEEBCEA8117095EB643A0953E3769450EE3A304EE0D732ACE80BD3E4FEC927CD81579A2288B4B64EE)
[广东]新建铁路路堑光面爆破法土石方开挖施工方案
图片尺寸560x420
爆破装药结构示意图
图片尺寸560x421
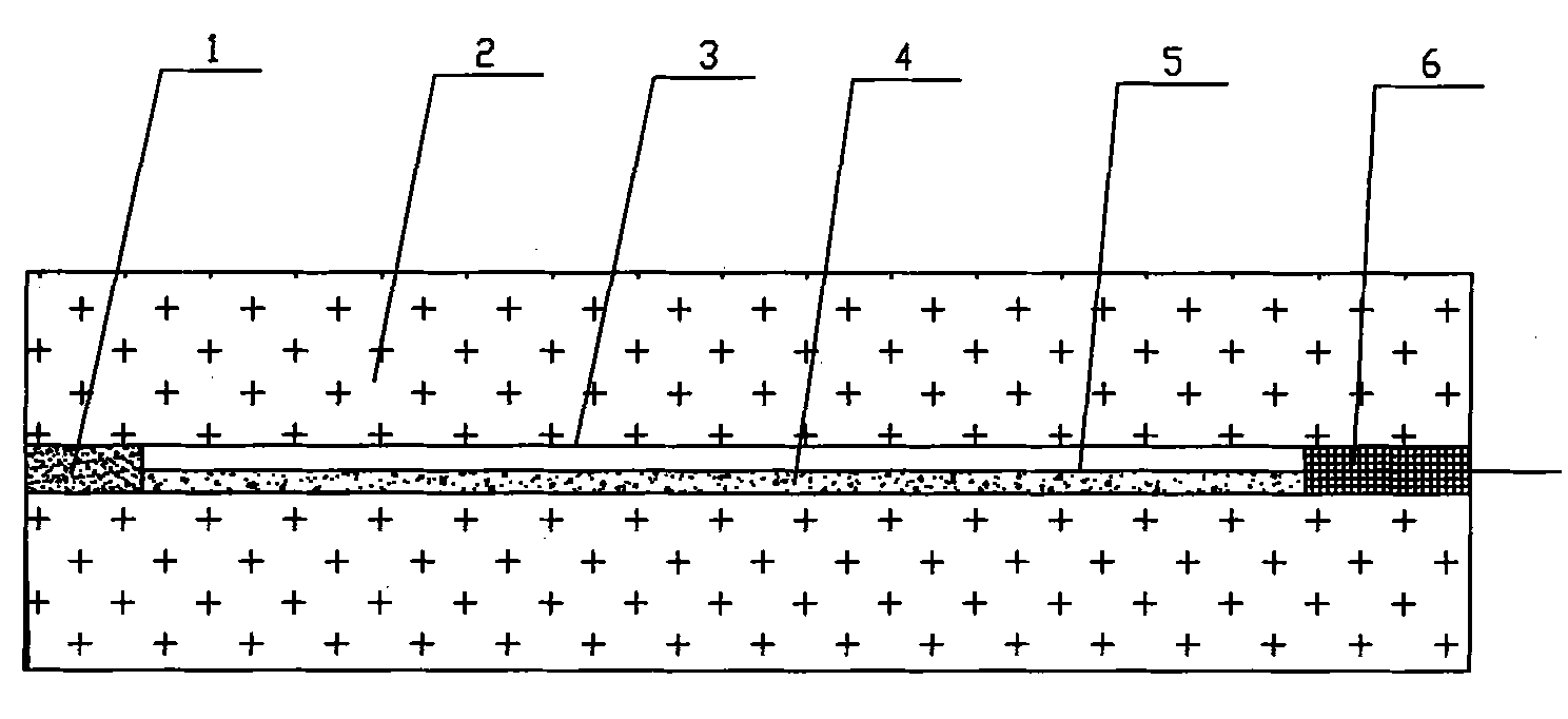
光面爆破的不耦合装药方法
图片尺寸1488x682