公 结构

某汽车公组织结构.doc 4页
图片尺寸1070x792
公司组织结构图 - 副本
图片尺寸1136x423
结构法则
图片尺寸713x713
结构图 校领导,党委领导 行政 处室 教学 系部 党群 组织 党 政 办 公
图片尺寸1122x599
秦代中央政府组织结构 皇 帝 三 公 九 卿 制 奉 常 郎 中 令 太 尉
图片尺寸1080x810
公是什么结构的字
图片尺寸446x436
点结构图答案ppt 1-1-1-2: 1 质数 合数 质因数 分解质因数 公因数 公
图片尺寸1080x810
欧几里得的《几何原本》是两千多年间被公认为用严格的逻辑结构来叙述
图片尺寸594x450
项目管理组织结构图 3.1.2项目管理人员职责和权限: 3.1.2.
图片尺寸496x702
组织结构图
图片尺寸686x459
结构性思维导图分析主人公追求幸福成功因素
图片尺寸600x294
生产力 决 定 生产关系 人与人关系 所有制结构 公有制主体 多种所有
图片尺寸1080x810
光明新区公常路6500平米独院钢结构厂房出租
图片尺寸640x533
的结构 儒林外史》 …… 串 "糖 葫 芦 " 式 录 选 遇 路 长 兄 公 助
图片尺寸1080x810
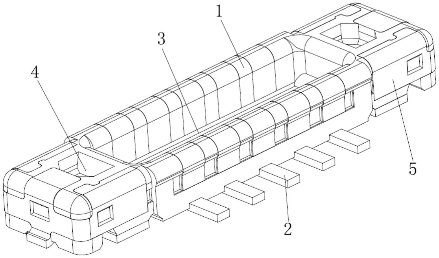
一种微型板对板连接器的公端结构
图片尺寸1517x891
结构化面试.公务员事业编面试9大类万能模板#事业编考试 #公 - 抖音
图片尺寸843x1115
公组词(公组词部首结构)
图片尺寸600x400
超级基础2静物结构临摹范本 2023烈公文化郑乃器单个组合几何体素描
图片尺寸1000x1000
某地区公租房结构cad示意图
图片尺寸610x432
争霸联考7头像结构临摹范本 2023烈公文化陈洪彬头像基础结构大关系头
图片尺寸1000x1000