冲击式打井机工作原理

人工掘井,人工冲击钻井,机械顿钻(绳索冲击钻)钻井,旋转钻井
图片尺寸339x453
油井加热电缆的工作原理是利用电加热技术,将电缆中的电阻丝通电后
图片尺寸740x690
山泉用横向打井机水平横向打井机冲击回转式钻井机300米深孔钻机
图片尺寸800x800
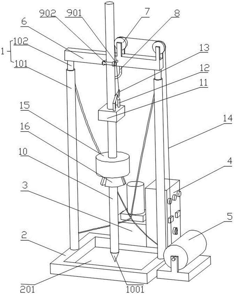
一种冲击式打井机
图片尺寸796x1000
近代各类冲击式钻机,都是基于它的原理而设计
图片尺寸801x1051
气动水井钻机打井机履带岩石打井设备 200米打井机冲击式钻机
图片尺寸800x800
定做大型履带气动水井钻机fy500冲击式气压钻井机 岩石地区打井机
图片尺寸750x1233
电动横井机钻山泉井水钻机 水平打孔户外钻井机 200m冲击式打井机
图片尺寸750x750
300米自动化横向打井机 冲击式凿岩横孔钻井 水汽两用水平钻孔 - 爱企
图片尺寸750x2222
柴油机液压打井机,师傅不在机器旁边也可以打井-度小视
图片尺寸450x800
嘉悦冲击式横向山泉井钻机全自动200米水平井打井机 - 爱企查
图片尺寸750x1337
全液压勘探钻机履带式气动水井钻机 600米冲击式打井机液压打井机
图片尺寸800x800
冲击式150米水平横向打井机山体岩石200米横向取水钻机山泉打孔机
图片尺寸800x800
500米气动水井钻机 履带式深孔冲击式打井机 山区野外深井钻井机
图片尺寸800x800
冲击式150米水平横向打井机山体岩石200米横向取水钻机山泉打孔机
图片尺寸800x800
厂供小型家用灌溉钻井机电动农田水井钻机3kw电 轻便滑架式打井机
图片尺寸1280x1706
履带气动水井钻机260打井机xsl3/5/7钻机 深水井冲击式岩石打井机
图片尺寸800x800
2万米深时,受地热影响,工作温度已经接近180摄氏
图片尺寸669x915
华夏巨匠cjc300车载式打井机气动岩层水井钻机冲击式深井设备
图片尺寸790x1313
嘉悦冲击式横向山泉井钻机全自动200米水平井打井机 - 爱企查
图片尺寸750x1684