冲击式水轮机喷针分解

一种冲击式水轮机喷针行程测量结构-爱企查
图片尺寸1391x1125
无簧式水轮机喷嘴,包括喷嘴管,位移反馈机构,活塞操控机构,喷针轴机构
图片尺寸1000x491
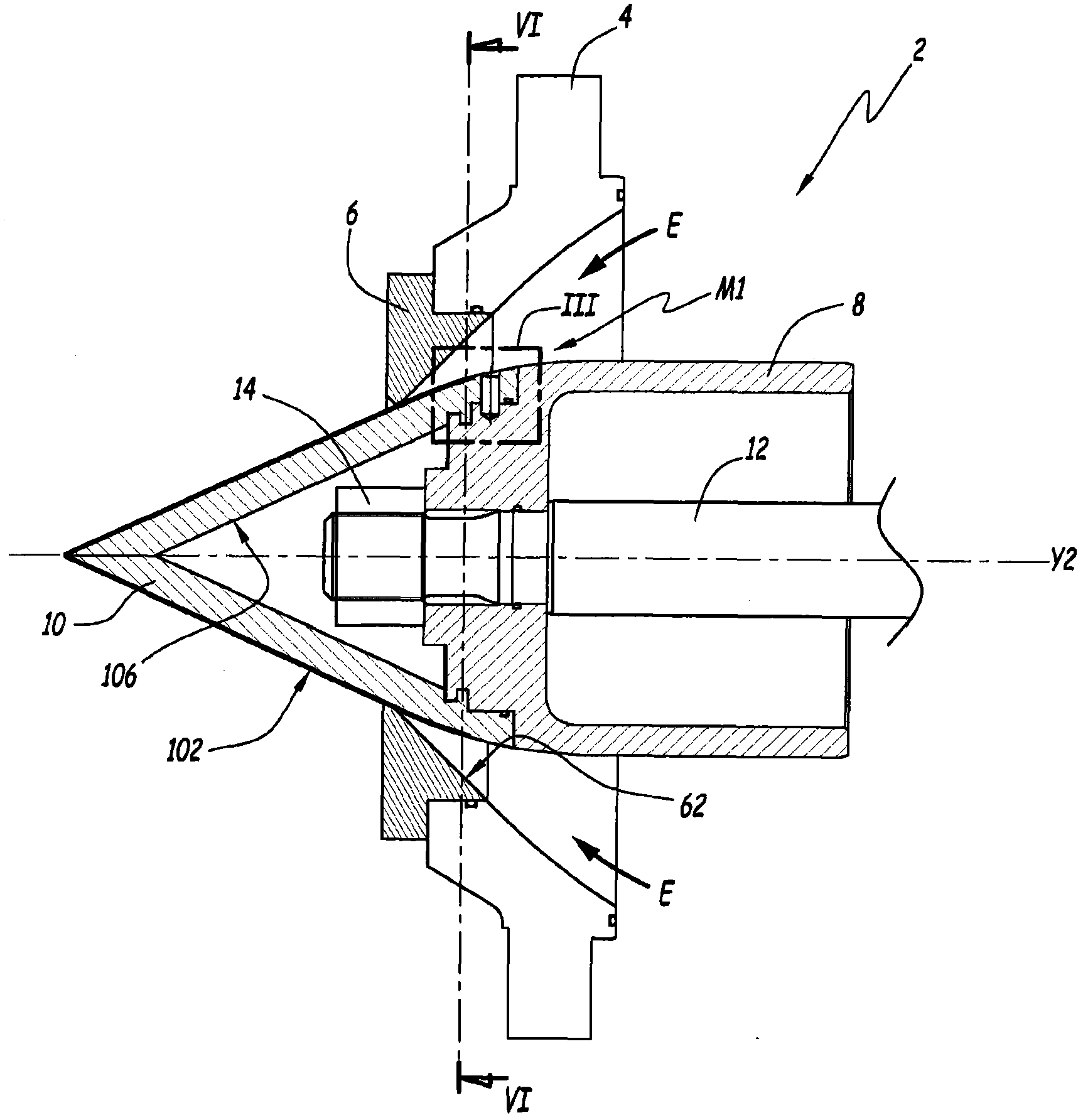
冲击式水轮机的液压喷射器及用于此类喷射器的部分拆卸的方法
图片尺寸1725x1784
用于冲击式水轮机水力的单腔自控式喷嘴组件
图片尺寸1999x1291
具有用于控制喷嘴喷针的结构的喷射器
图片尺寸1506x2046
具体涉及一种冲击式水轮机,特别是一种卧式双直流喷嘴冲击式水轮机,用
图片尺寸1000x590
一种冲击式水轮机喷针及其制造方法与流程
图片尺寸355x444
冲击式水轮机模型六喷
图片尺寸820x601
1,工作原理:冲击式水轮机是借助于特殊导水机构(喷嘴)引出具有动能的
图片尺寸337x267
冲击式水轮机演示ppt
图片尺寸1080x810
高压水射流旋转喷头结构示意图
图片尺寸500x400
冲击式水轮机三维图
图片尺寸650x598
六喷管切击式水轮机
图片尺寸1280x720
冲击式嘴水轮机
图片尺寸600x450
工程机械冲击式水轮机3d数模图纸igs格式
图片尺寸1080x830
冲击式水轮机模型六喷
图片尺寸820x545
冲击式水轮机
图片尺寸395x443
图5--双喷管水斗式水轮机
图片尺寸640x414
一种冲击式水轮机喷嘴防冲装置的制作方法
图片尺寸444x351
射流直冲叶轮旋转式造雨喷头
图片尺寸2688x2144