冲裁模

(2-8)冲裁模的典型结构ppt
图片尺寸1080x810
上面这张步骤图可以最清楚的告诉你整个分离过程,1和2是冲裁模,而
图片尺寸400x300
冲裁模的典型结构ppt
图片尺寸1080x810
手工冲裁模
图片尺寸616x616
连续冲裁模
图片尺寸551x397
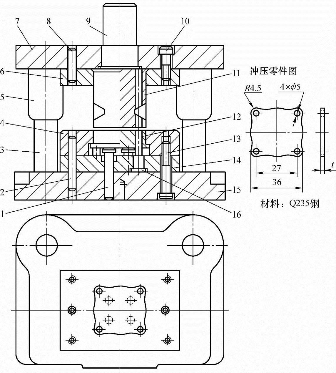
图3-18 端盖顺装式复合冲裁模
图片尺寸1143x1267
单工序冲裁模的装配实例 1.单工序冲裁模的装配实例
图片尺寸1080x810
广州冲裁模具加工报价表 广州冲裁模具加工 三度机械质优
图片尺寸700x525
三角板冲裁模设计2d图机械cad素材
图片尺寸969x738
专供应数控转塔多工位冲床模具冲裁模 五金冲压模工厂店
图片尺寸1068x1280
纸品冲压模 冲裁模 冲压刀模 切刀模-报价-阿里巴巴
图片尺寸340x340
级进模具 连续模具 杭州冲压模级进模 复合模 冲裁模
图片尺寸1440x1920
图3-26 带浮动模柄的倒装式复合冲裁模
图片尺寸1441x1407
3冲裁模结构,4,零件设计课件_第4页
图片尺寸800x600
图3-25 日字形硅钢片倒装式复合冲裁模
图片尺寸1698x1888
简单冲裁模
图片尺寸551x397
精密冲压模具 塑料冲裁模具 抗磨损冲裁模 冷作药机模具加工制造
图片尺寸800x800
图2-3 对角导柱模架弹压卸料连续复合冲裁模
图片尺寸1697x1962
图3-6 开口垫圈多件冲裁模
图片尺寸1113x1255
五金冲压冲裁模具设计有哪些要注意
图片尺寸350x350