冷冻式干燥机电路图

uv干燥机电气原理图
图片尺寸1654x2340
rion干燥机接线图
图片尺寸1224x1632
cn201927997u_干燥机温度安全保护装置失效
图片尺寸2606x1408
图为单相冷干机大致电路,其中启动按钮和停止按钮为冷干机触控面板上
图片尺寸833x406
烘干机电路原理图
图片尺寸629x535
原糖滚筒干燥机变频控制电路
图片尺寸2346x1544
烘干机是干燥物品的专用设备.
图片尺寸402x333
一种真空冷冻干燥机-爱企查
图片尺寸1407x1473
控温烘箱和培养箱控制电路
图片尺寸647x525
科林冷干机电路图_冷干机常见故障视频
图片尺寸750x771
dg型电热恒温干燥箱电路02
图片尺寸591x285
原糖滚筒干燥机变频控制电路的制作方法
图片尺寸657x1000
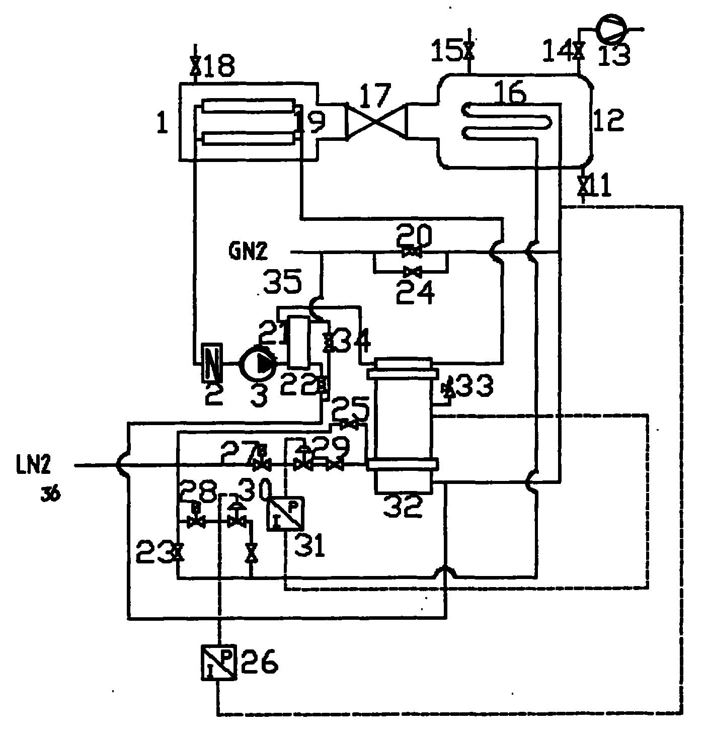
cn201251348y_一种采用涡旋制冷系统的真空冷冻干燥机有效
图片尺寸1852x1446
冷压机电气原理图和接线图
图片尺寸605x427
一种多功能组合式低露点干燥机
图片尺寸2829x1638
干衣机电路图
图片尺寸419x354
真空干燥箱产品工作原理是怎样的?
图片尺寸544x414
冷冻机与冷却泵联锁控制电路
图片尺寸930x1287
cn202494275u_一种带报警器的冷冻干燥装置有效
图片尺寸504x341
60t粮食烘干机电气原理图
图片尺寸820x337