冷凝装置图

一种用于实验室的冷凝器的制作方法
图片尺寸1000x904
一种用于实验室的冷凝器的制作方法
图片尺寸1000x904
冷凝器的种类和工作原理
图片尺寸880x361
制冷系统中冷凝器的安装_氨冷凝器_工程技术_制冷资讯
图片尺寸646x554
加热回流冷凝装置图_360问答
图片尺寸484x470
冷凝管为什么下进上出(冷凝管进出水)_环球信息网
图片尺寸873x546
冷凝器的工作原理是怎么样的_杭州海弯制冷设备有限公司
图片尺寸860x415
回流提取 - 搜狗百科
图片尺寸220x300
专题一 化学实验中蒸馏装置和冷凝装置的变迁试卷及参考答案——青夏
图片尺寸344x495
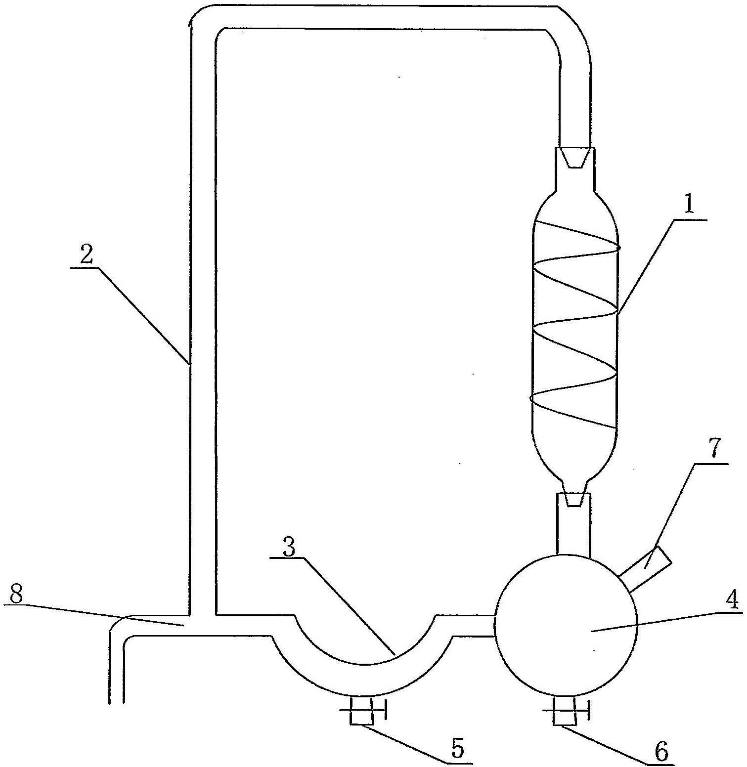
冷凝装置-爱企查
图片尺寸1511x1552
冷凝器知识汇总,多图易懂!
图片尺寸663x490
工业硫酸的制备方法
图片尺寸404x255
硫辛酸生产中的冷凝装置专利_专利申请于2008-06-24_专利查询 - 天眼
图片尺寸1576x2176
【一种用于精油提取的蒸馏冷凝装置专利查询】专利号|摘要-企查查
图片尺寸526x432
蒸发式冷凝器系统示意图_冷冻设备_食品机械与设备图片_食品图库_食品
图片尺寸398x457
一种抗氧剂生产用冷凝装置专利_专利申请于2020-07-15_专利查询 - 天
图片尺寸977x1000
用于香料油提取的冷凝装置的制作方法
图片尺寸799x1000
卧立式冷凝装置的制作方法_2
图片尺寸1000x945
一种改良型冷凝装置的制作方法
图片尺寸587x1000
冷凝器的种类和工作原理
图片尺寸507x394