减压过滤装置的简图

过滤装置图及详细步骤,安装过滤装置的步骤,过滤的装置图及注意事项
图片尺寸773x763
如图所示为减压过滤装置,回答有关问题.
图片尺寸263x251
过滤装置图 两 低 一贴
图片尺寸1080x810
过滤装置图
图片尺寸413x639
1)减压和真空过滤 这种方法是需要一整套的装置来完成的.
图片尺寸666x555
减压热过滤也叫抽滤,特点是过滤快,但缺点是遇到沸点较低的溶液时,会
图片尺寸1864x1280
②过滤装置 ③减压过滤装置 为了加快过滤速度,得到较干燥的沉淀,可
图片尺寸409x323
常用的过滤方法有常压过滤,减压过滤和热过滤.
图片尺寸600x430
能不能更我一份实验室减压抽滤装置图
图片尺寸323x170
减压过滤,热过滤和重结晶
图片尺寸1125x680
图2-31 减压过滤装置减压过滤装置如图2-31所示.
图片尺寸743x564
减压过滤抽滤介绍
图片尺寸807x497
高中实验化学,减压过滤安全瓶支管为什么要左高右低
图片尺寸375x500
图所示装置的减压过滤与母液分离. 下列操作不正确的是______. a.
图片尺寸189x154
如实验室减压抽滤装置图片所示,④为()
图片尺寸617x460
专题18 实验化学(选考) 课时作业
图片尺寸1157x798
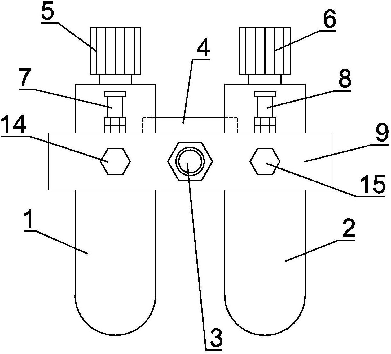
一种一备一用减压过滤装置
图片尺寸1262x1143
求高中化学抽滤装置(减压装置 抽滤瓶 布式漏斗)详细解析
图片尺寸199x324
活性炭过滤器
图片尺寸578x435
常压过滤减压过滤(抽滤) 热滤及抽滤装置图
图片尺寸285x272