减震座椅制作方法图片

b54汽车货车座椅改装解放j5奥威悍威骏威江淮格尔发气囊减震座椅 六
图片尺寸1500x1920
b51一汽j6l货车用品改装解放j6气囊座椅格拉默气囊减震座椅总成 三310
图片尺寸3145x4645
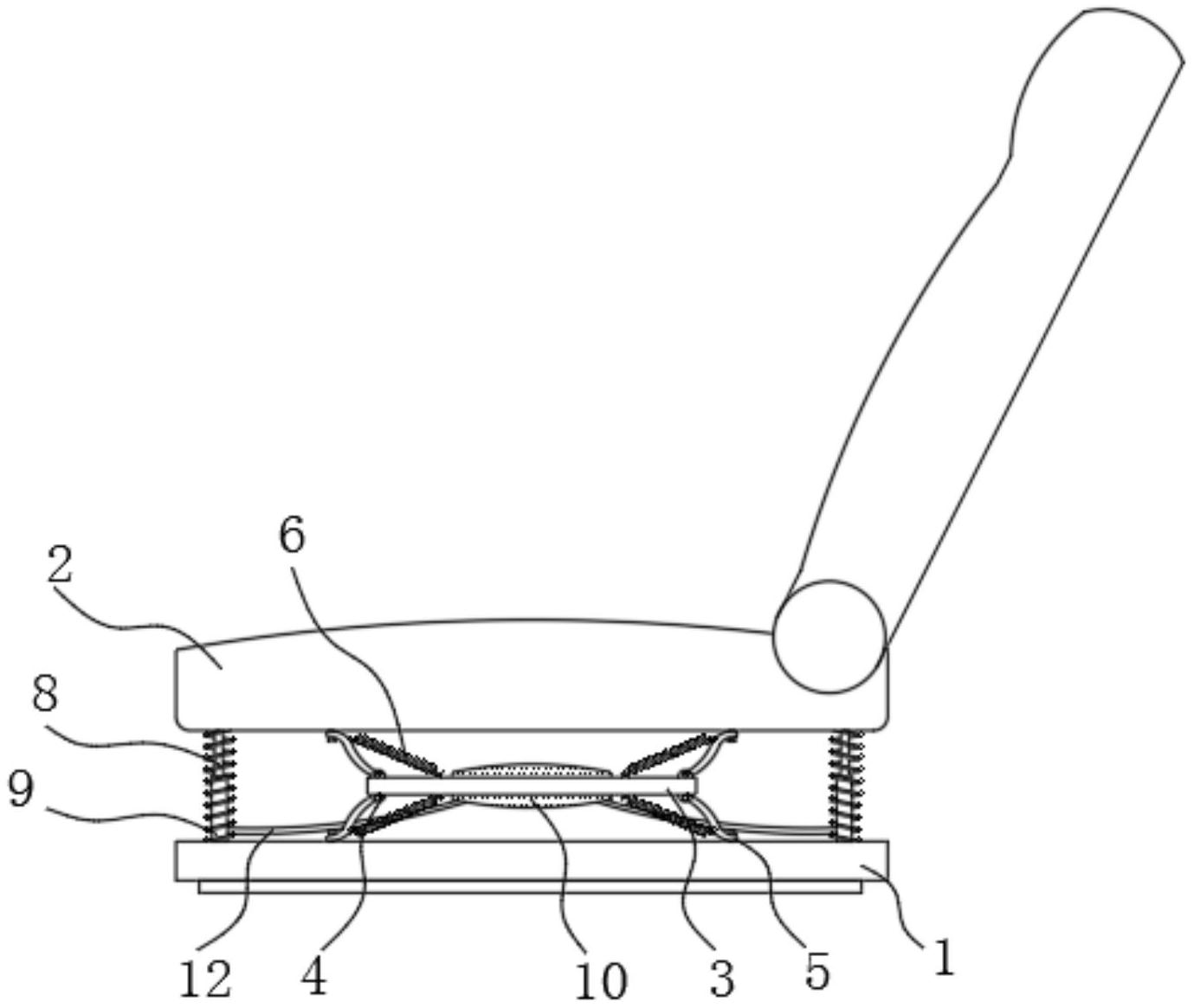
cn213228386u_一种汽车座椅用减震结构有效
图片尺寸1379x1165
东风柳汽m3乘龙609卡车座椅总成霸龙507气囊减震座椅b04 一蓝布无扶手
图片尺寸990x957
航空减震座椅改装厂家定制.#卡车司机座椅 #航空减震座椅 # - 抖音
图片尺寸800x800
适用于a91客车房车改装金龙海格客车座椅总成少林金旅考斯特减震座椅
图片尺寸990x883
铁路机车 轨道车 地铁内燃机车专用液压减震旋转司机座椅-阿里巴巴
图片尺寸1440x1920
辽宁丹东jf-c-09汽车房车座椅改装卡车货车客车货车船舶机械减震座椅
图片尺寸1786x1332
一种轻型抗冲击减振吸能座椅的制作方法
图片尺寸475x536
新世代房车主副驾驶员机械减震座椅七豪华黑革扶手s2c01g2h21h14h48
图片尺寸1500x1920
蔻均缕适用于改装重汽豪沃悍将解放虎v大王驾到j6f气囊减震座椅总成
图片尺寸800x800
jf-c-14汽车座椅改装欧曼解放货车卡车工程车座椅机械减震底座
图片尺寸1560x1871
05适用于福田瑞沃欧曼gtletx货车改装通用9系6系5系气囊减震座椅 八
图片尺寸990x794
小铲车装载机座椅工程机械减震座椅莱工鲁工明宇通用驾驶室座椅
图片尺寸1000x1000
挖掘机推土机钩机装载机铲车机械减震座椅a16 二黑棕革双扶手高低前后
图片尺寸898x1499
拖拉机车悬浮减震座椅农用车雷沃东方红通用型总成座椅配件
图片尺寸1280x1280
拖拉机座椅悬浮减震座椅农用车座三马车座椅农业车全新农机配件
图片尺寸800x800
千驰嘉b53货车航空座椅改装陕汽新m3000f3000x3000气囊减震座椅总成
图片尺寸1000x1000
厉害了,因为这张座椅我想买这部车!脊椎病良药
图片尺寸1080x606
福田雷沃欧豹拖拉机 减震座椅 气弹簧悬浮座椅 原厂配件
图片尺寸960x960