减震结构图

小小减震器结构不简单你猜有多少零件
图片尺寸960x720
减震器原理是怎样的?
图片尺寸552x507
汽车操控性升级必备项目减震器的结构与特性
图片尺寸760x626
【见多识广】小小减震器,结构不简单,竟然需要这么多零件
图片尺寸640x670
舵轮增减减震机构,运行平稳.#agv # - 抖音
图片尺寸1064x788
双向减振器结构图
图片尺寸550x844
汽车减震器的构造和工作原理图解
图片尺寸731x855
汽车弹簧减震器结构图解
图片尺寸371x766
为什么我的减震器那么贵还坏得那么快
图片尺寸543x967
汽车减震器的构造和工作原理(图解)
图片尺寸940x878
汽车减震器结构原理详解2
图片尺寸800x1132
液压减震器结构分析图
图片尺寸920x1302
起初对于hiper strut结构的前悬架结构的认知都是源于那几张效果图
图片尺寸500x332
汽车减震器结构图
图片尺寸920x1303
汽车减震器结构原理详解
图片尺寸447x412
【普通减震器结构图】
图片尺寸500x501
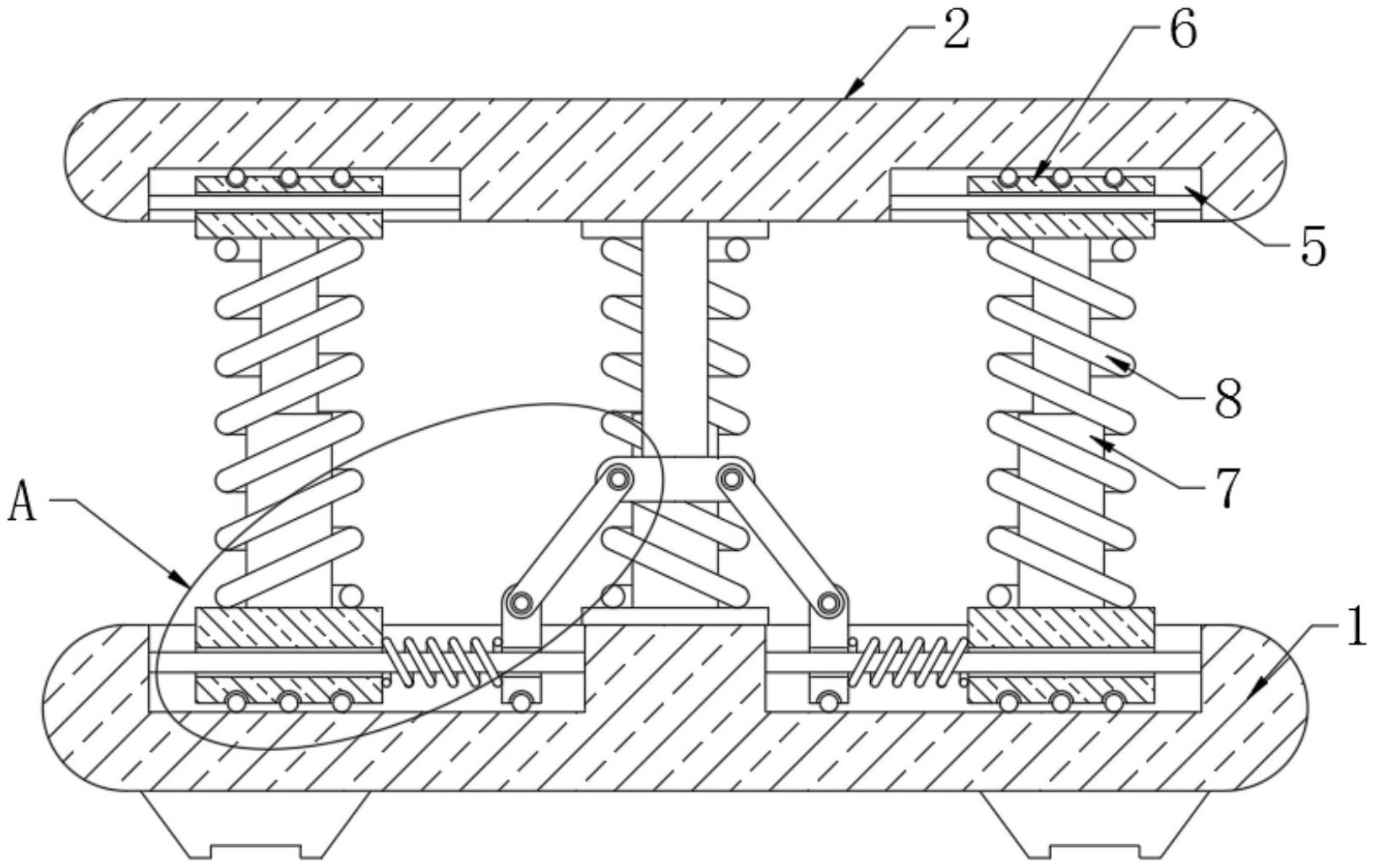
一种机电设备减震装置
图片尺寸1634x1032
减震器结构
图片尺寸494x256
液压减震器结构分析图
图片尺寸920x1302
小小减震器结构不简单你猜有多少零件
图片尺寸960x720