分馏塔结构

分馏塔(分馏塔的作用)
图片尺寸717x857
典型的精馏塔结构 f - 加料; d - 塔顶采出; w - 塔釜采出; l - 回流
图片尺寸1080x810
急,急,急啊,求哪位高手帮我下一个筛板精馏塔的cad图,在线等哈!
图片尺寸324x347
筛板精馏塔设计ppt
图片尺寸1080x810
塔器设备种类及结构图文解析上
图片尺寸1112x955
空分精馏塔运行与维护
图片尺寸380x592
塔设备
图片尺寸1008x1654
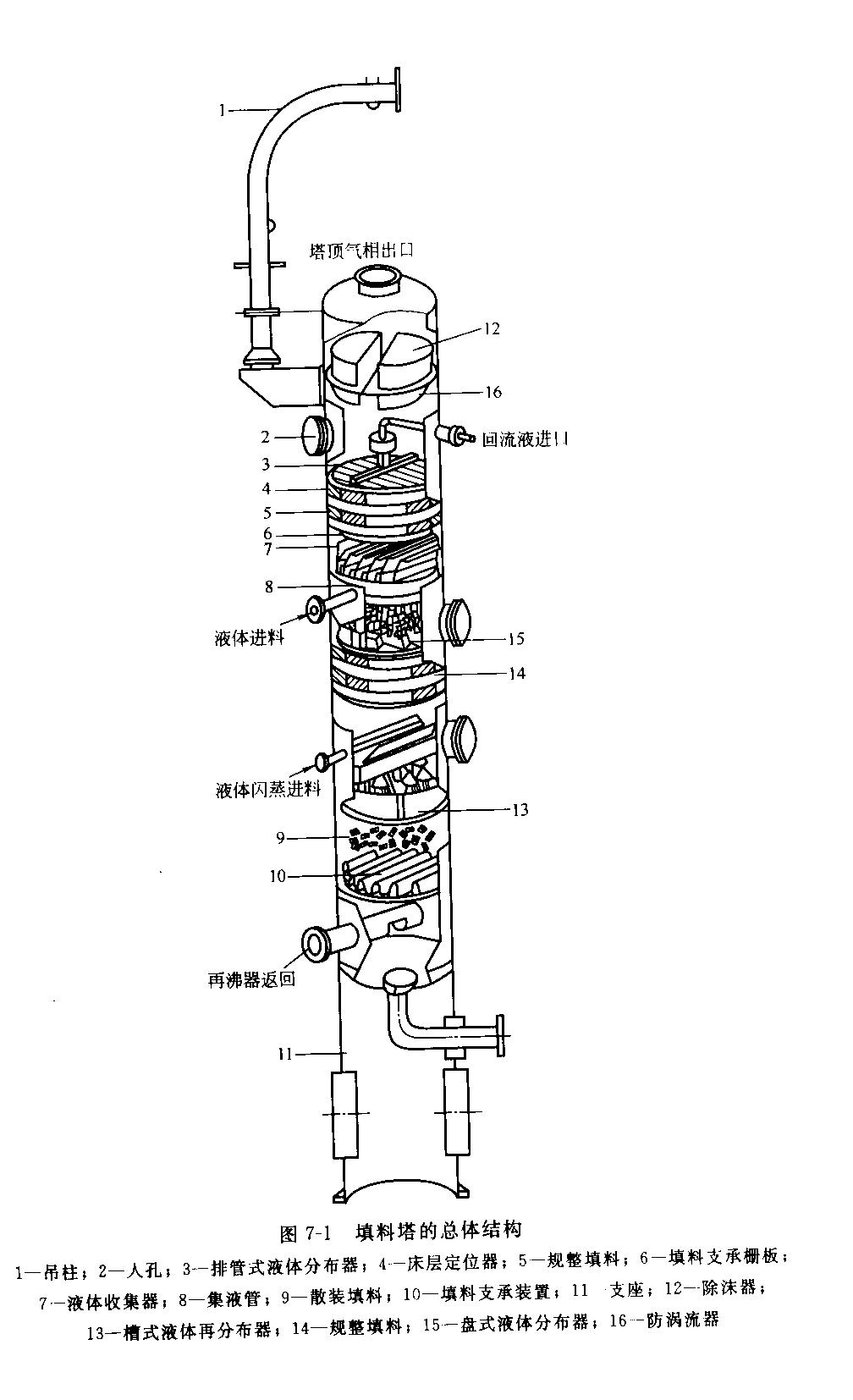
精馏塔的结构简图
图片尺寸1499x2201
精馏塔
图片尺寸300x678
分馏塔石材
图片尺寸500x737
石油的分馏 (工业中石油的分馏塔) 实验:装配一套蒸馏装置
图片尺寸893x565
cn1262327c_螺旋分馏塔有效
图片尺寸863x1417
cn2357793y_化工分离过程用间歇精馏塔失效
图片尺寸732x948
直接火焰加热式蒸馏塔结构示意图
图片尺寸1459x1417
一种分子蒸馏用的改进型塔板填料式精馏塔
图片尺寸1555x1980
精馏塔dn4100装配图
图片尺寸448x614
求帮画cad板式精馏塔的图,化工课程设计用
图片尺寸475x667
一种提高氮气产量的空分精馏塔的制作方法
图片尺寸740x1000
共沸物从反应釜内首先受热上升至分馏段,沸点低的继续上升,因为塔顶在
图片尺寸486x575
本发明揭示了一种常减压蒸馏塔,包括呈一体式结构的上筒体,中筒体与下
图片尺寸1059x2483