切割装置

操作简单超声波切割刀片超声波面包切片食品自动切割装置hcsonic
图片尺寸1152x720
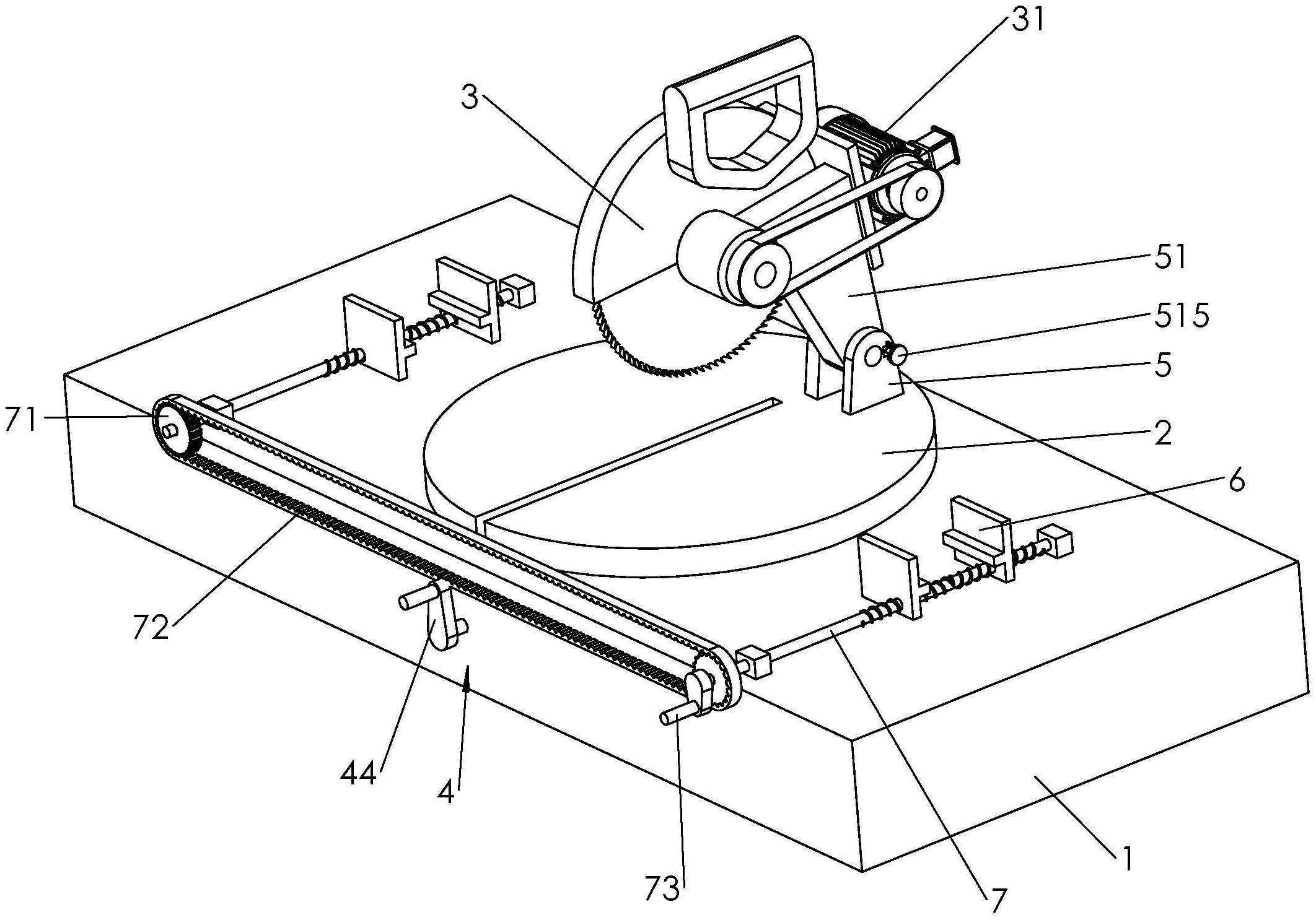
一种具有厚度检测的板材切割装置
图片尺寸1919x1321
一种五金模具加工切割装置-爱企查
图片尺寸1753x1303
一种pe实壁管生产切割装置的制作方法
图片尺寸1557x1622
一种自动化铝型材切割装置
图片尺寸300x225
一种木板加工用多角度切割装置-爱企查
图片尺寸2124x1486
cn113070582a_一种用于薄板钣金件的自动化激光切割装置在审
图片尺寸1937x1154
鸿达非标设备伺料输送切割装置sw2014
图片尺寸530x465
一种高强度高耐磨胶合板加工用切割装置
图片尺寸1921x1269
cn213107059u_一种便于固定材料的家装施工用板材切割装置
图片尺寸1736x1235
激光切割钣金自动上下料装置
图片尺寸770x400
一种塑料管材切割装置
图片尺寸1615x1151
一种管路件管道加工用切割装置-爱企查
图片尺寸791x800
一种机械工程切割装置的制作方法
图片尺寸1000x855
一种钢板材料加工用定位切割装置-爱企查
图片尺寸800x523
一种显示器背板生产用切割装置-爱企查
图片尺寸1538x1465
一种金属板切割装置的制作方法
图片尺寸1000x540
一种建筑工程用减震钢筋切割装置-爱企查
图片尺寸1940x1012
一种管材切割装置-爱企查
图片尺寸1493x1224
一种用于高分子材料挤出成型设备的切割装置的制作方法
图片尺寸374x443