切断阀结构

汇胜zms气动切断阀气动活塞式切断阀气动薄膜切断阀
图片尺寸541x304
燃气紧急切断阀结构图:燃气紧急切断阀属于常开型脉冲触发式型电磁阀
图片尺寸686x698
氨用气动紧急切断阀外形结构图
图片尺寸280x293
气动切断阀
图片尺寸1579x2414
切断阀  #康明斯发动机pt燃油系统 - 抖音
图片尺寸925x707
一种双控式快速切断阀
图片尺寸1892x2428
五,气动薄膜切断阀 结构图:四,技术参数:三,zmqp气动薄膜切断阀零部件
图片尺寸411x290
一种独立的调压器切断阀结构-爱企查
图片尺寸1944x2280
一种双向安全切断阀的燃气调压器的制作方法
图片尺寸938x1000
紧急切断阀工作原理,紧急切断阀结构原理图,切断阀-上海永龙阀门厂
图片尺寸650x774
cn102032370a_一种超压切断阀有效
图片尺寸1554x1830
切断阀工作原理
图片尺寸374x302
cn203477546u_燃气紧急切断阀失效
图片尺寸951x1000
结构,执行机构内设有弹簧,这种切断阀可以快速自动切断流体管道内流体
图片尺寸1696x2272
一种气动二位切断阀的制作方法
图片尺寸773x1000
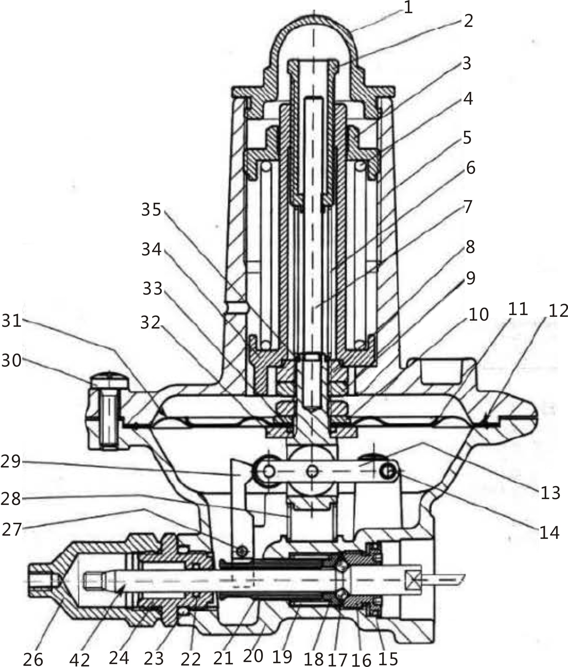
cn101915315a_自力式气动带手动紧急切断阀有效
图片尺寸1590x2259
公司|槽车专用紧急切断阀
图片尺寸617x578
燃气紧急切断阀外形结构图
图片尺寸282x351
式切断阀,由气动薄膜多弹簧执行机构和控制阀门组成,阀体结构有单座
图片尺寸875x478
一种带阀位远传功能的常开式电磁式燃气紧急切断阀的制作方法
图片尺寸807x1000