动力伞原理

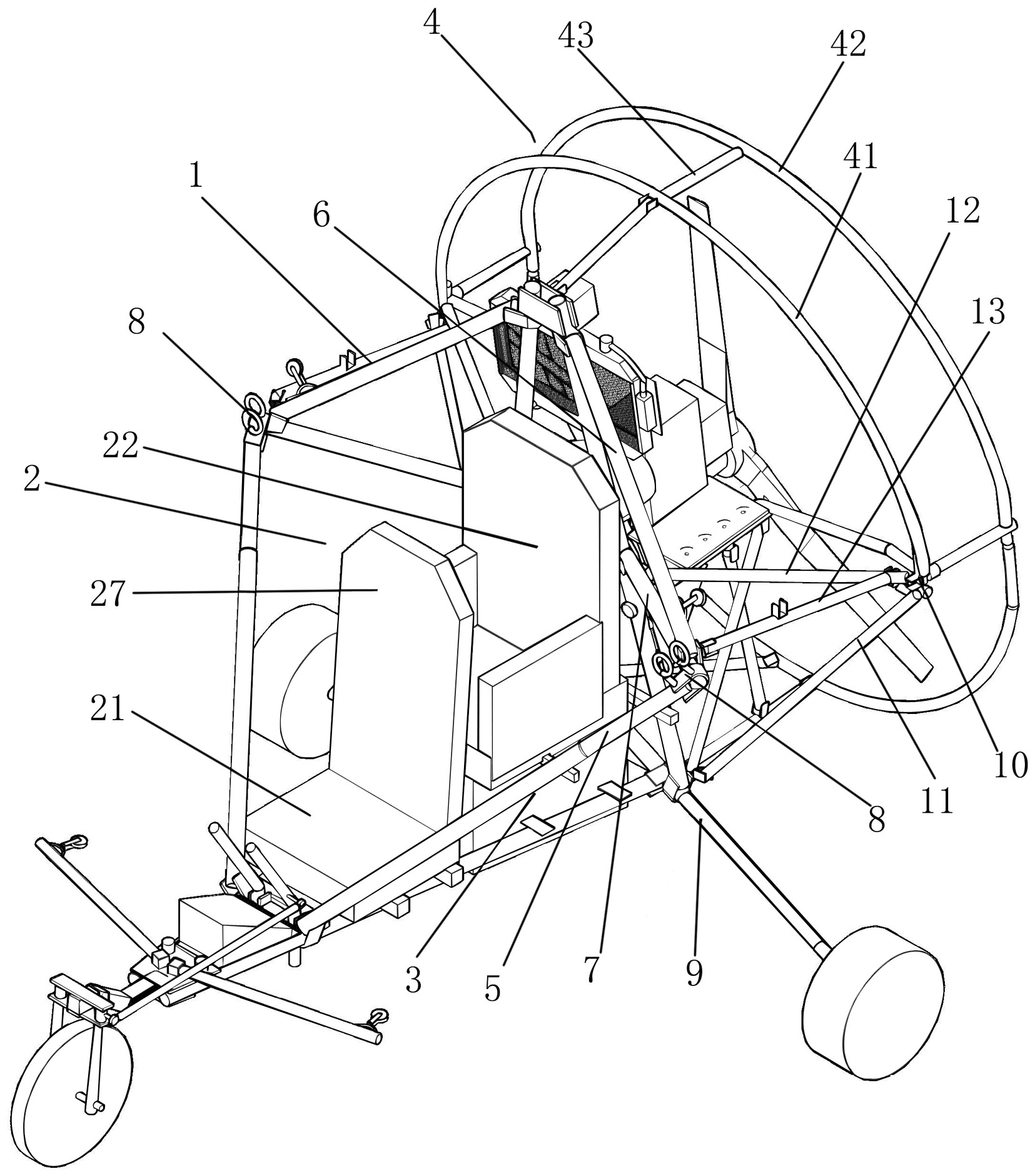
一种多用途轮式动力伞-爱企查
图片尺寸1655x1881
动力伞基础教学
图片尺寸903x779
一种动力伞的制作方法
图片尺寸917x1000
一种基于电动多桨动力装置的动力伞的制作方法
图片尺寸1000x509
动力伞基础教学
图片尺寸1080x444
雨伞是什么时候发明的雨伞的发明人
图片尺寸700x548
滑翔伞无任何动力装置,它之所以能飞行依靠的是伞翼的结构,承载的重力
图片尺寸818x759
视界网动力伞基础知识介绍
图片尺寸600x459
一种杠杆原理的大型伞
图片尺寸1948x2017
cn2822302y_一种全自动雨伞失效
图片尺寸1635x2271
cn1087249a_改良全自动伞失效
图片尺寸1184x2314
动力滑翔伞发动机动力一套意大利动力伞发动机-阿里巴巴
图片尺寸1080x1080
cn102068095a_一种具安全防护功能的自动开合伞有效
图片尺寸1618x2308
大侠 大双动 双人轮车 动力伞 rotax582发动机 apco 550
图片尺寸600x450
一种反向开合遮阳大伞的制作方法
图片尺寸444x303
动力伞装置及其支撑结构制造方法及图纸
图片尺寸754x1000
滨州举办动力伞飞行表演下
图片尺寸1000x667
带你走进动力伞的世界(7)
图片尺寸1440x1920
【钢结构·技术】雨伞结构中包含的巧妙的力学原理,你了解吗?
图片尺寸544x343
cn201541885u_身背式全自动电子追日伞失效
图片尺寸2260x2608