化妆镜简笔画

简笔镜子
图片尺寸610x610
简笔画之全身镜
图片尺寸562x496
表镜细线图标化妆镜
图片尺寸1100x1100
镜子怎么画
图片尺寸700x525
化妆镜(rm318b)-爱企查
图片尺寸815x1566
漂亮的镜子简笔画
图片尺寸900x600
化妆镜心形
图片尺寸1085x1960
碎了的镜子的简笔画
图片尺寸500x437
简笔画创意趣味小镜子学生随身折叠化妆镜便携迷你长方形宿舍可爱
图片尺寸800x800
化妆镜-爱企查
图片尺寸444x800
教你画镜子简笔画图片
图片尺寸900x600
化妆镜像图标
图片尺寸1100x1100
华丽的镜子简笔画教程图片
图片尺寸685x449
化妆镜(295-3)-爱企查
图片尺寸271x432
一种化妆镜-爱企查
图片尺寸595x800
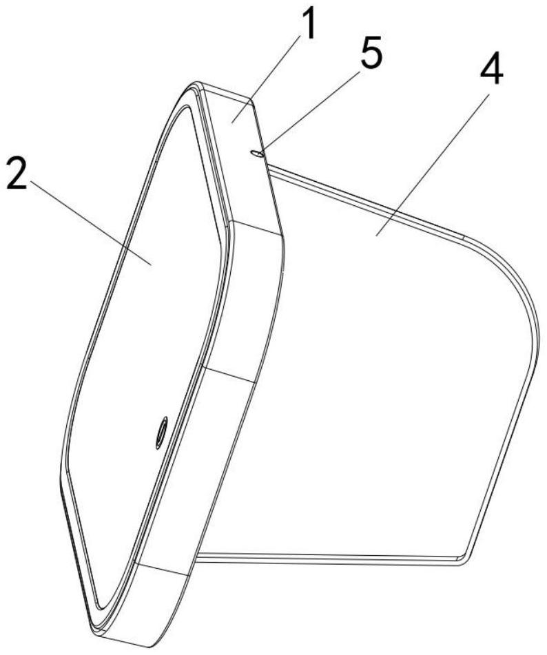
化妆镜
图片尺寸1353x2057
化妆镜(ai)-爱企查
图片尺寸384x800
镜子简笔画大全
图片尺寸650x470
一步一步画镜子简笔画教程彩色可爱
图片尺寸495x403
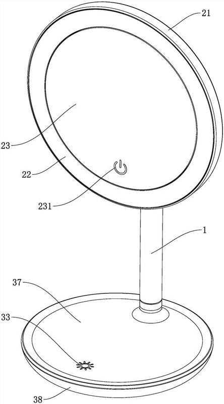
一种化妆镜-爱企查
图片尺寸794x951