医疗箱设计图手绘

药箱是指专用于存储药品和医疗工具的箱子.
图片尺寸443x412
一种家用扩展型药箱
图片尺寸1907x1200
医药医疗技术的改进医疗器械制造及应用技术
图片尺寸1000x997
急救箱矢量示意图医学和医疗保健手绘图标和设计元素
图片尺寸800x800
医用箱简笔画步骤 医用箱简笔画
图片尺寸800x450
医药防潮箱_cn201930548844.3_知雀网
图片尺寸1654x1245
2.本外观设计产品的用途:医药护理.
图片尺寸1311x1654
手绘医用箱
图片尺寸610x521
卡通手绘医疗药箱
图片尺寸610x610
手绘医药箱png素材透明免抠图片-卡通手绘
图片尺寸610x619
医药医疗技术的改进医疗器械制造及应用技术
图片尺寸1000x967
2.本外观设计产品的用途:医疗器械.
图片尺寸720x779
一种医院用医疗用品存放柜
图片尺寸374x543
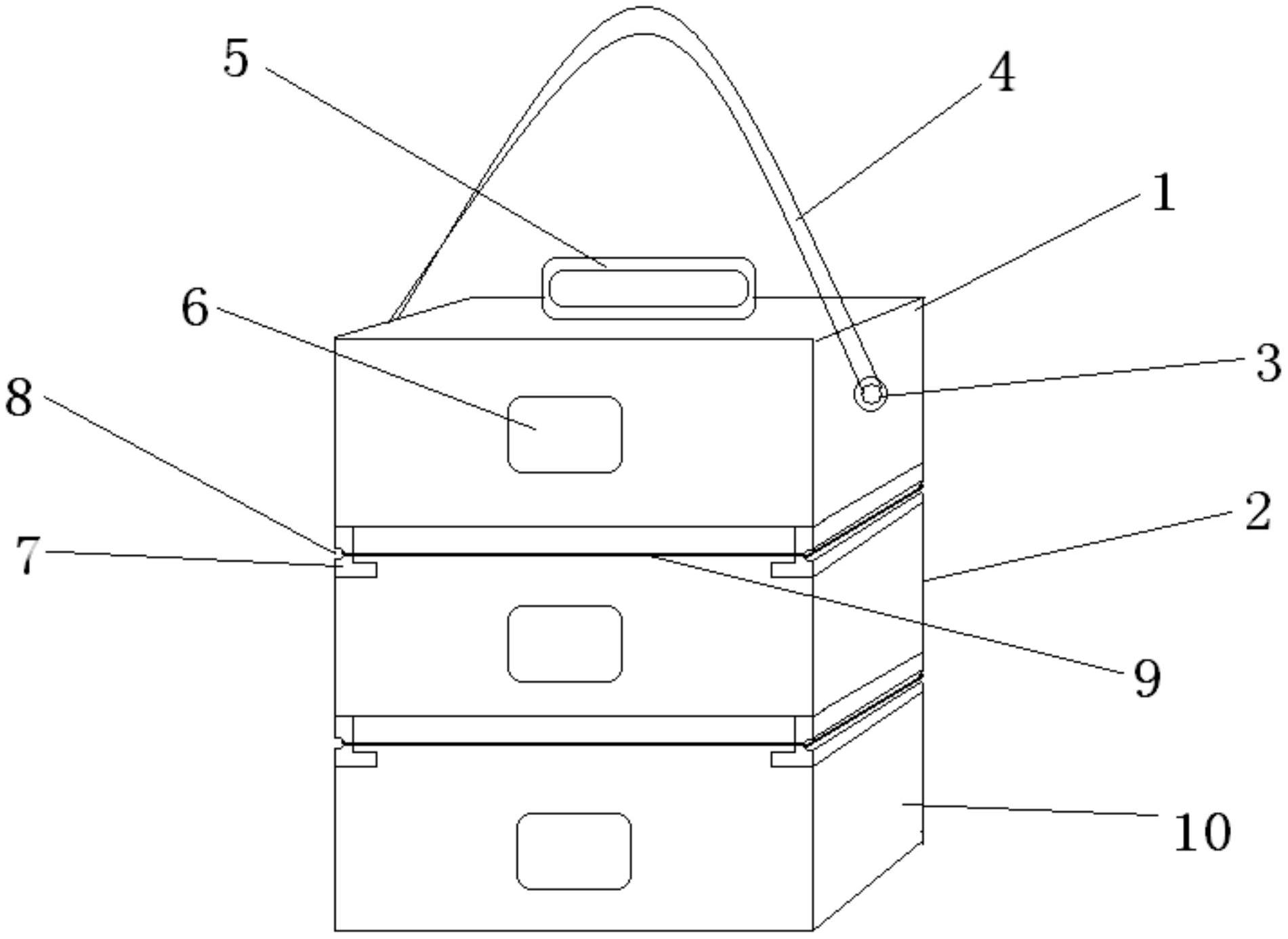
一种护理科用药品干湿分离的组合式药箱
图片尺寸1901x1385
本实用新型属于医疗用品相关技术领域,具体涉及一种医用冷藏箱.
图片尺寸903x1000
一种智能的家庭急救药箱的制作方法
图片尺寸1000x838
医药医疗技术的改进医疗器械制造及应用技术
图片尺寸1000x671
一种智能药箱制造技术
图片尺寸1000x757
一种可包扎四肢的多功能家用医疗箱
图片尺寸1987x1107
药箱是指一个专门用来存放药品,医疗工具的箱子,当中的隔层用于区分
图片尺寸437x477