单动双管动画演示

单十字轴万向联轴器7575单动式棘轮机构7575串联钢丝防松75
图片尺寸488x313
单动式棘轮机构757575带传动757575齿轮齿条757575
图片尺寸360x279
1间歇运动机构 2)双动式棘轮机构 点击观看动画演示 钩头双动式棘轮
图片尺寸1080x810
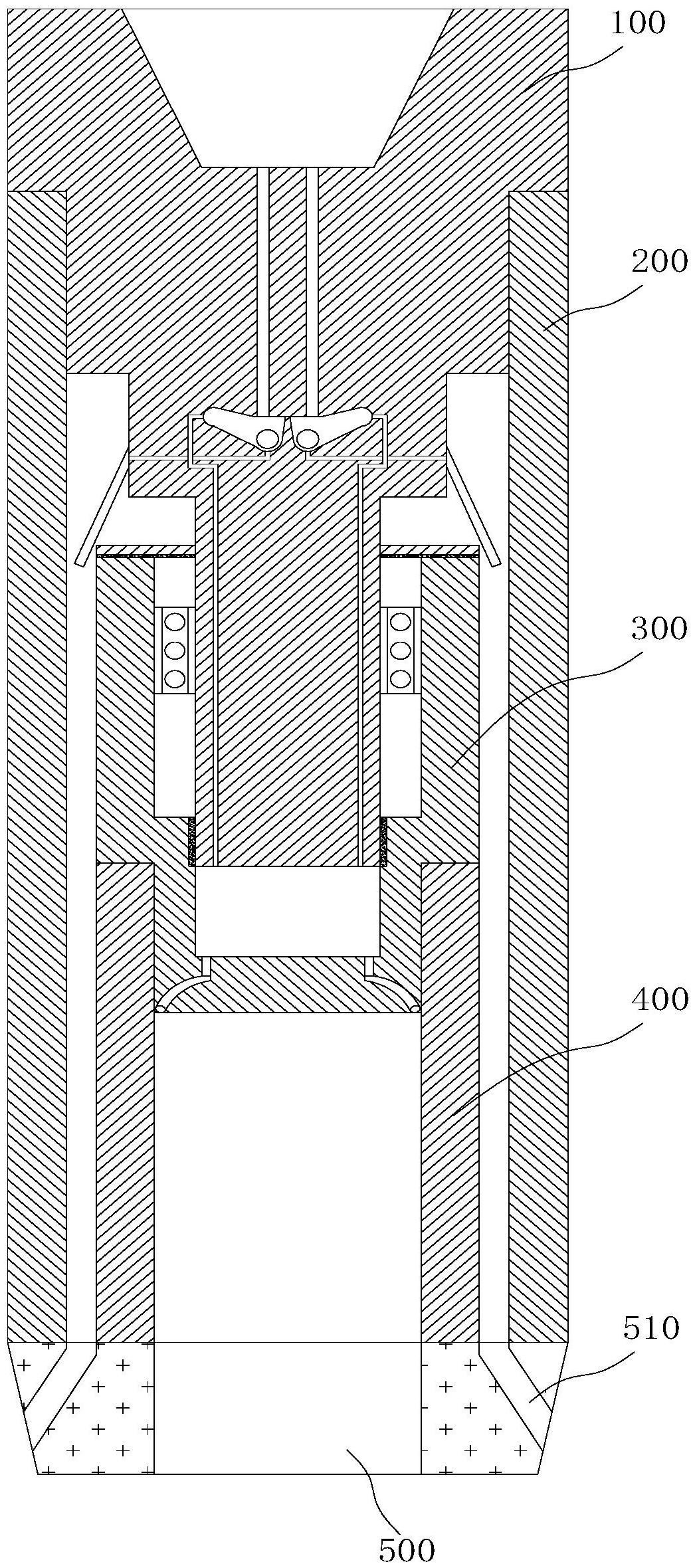
单动双管钻具
图片尺寸1046x2360
研发并成功应用 311mm大口径一次取心成井技术;中空井底动力绳索取心
图片尺寸900x600
盘点:shot show最热门时髦的手枪 品种众多 竟还有双管燧发枪_网易
图片尺寸660x367
网站首页 >> 泵的知识 >> 详情内容按作用方式往复泵可分为: (1)单动
图片尺寸310x155
弹簧力封闭-力锁合:单十字轴万向联轴器:单动式棘轮机构:串联钢丝防松
图片尺寸488x367
单动双管钻具
图片尺寸250x94
单动双管钻具
图片尺寸250x81
3d动画展示铜管的连接过程你学会了吗
图片尺寸960x540
dz1082单动双管钻具
图片尺寸920x1302
用于负压取心的地质勘探单动双管钻具的制作方法
图片尺寸522x1000
双动双管取心钻具|1|2
图片尺寸290x127
单动(香蕉柄)操舵:—— 在海
图片尺寸1080x810
800_800gif 动态图 动图
图片尺寸800x800
单动双管钻具参考价:面议店铺:甘肃省探矿机械厂地址:甘肃 兰州联系人
图片尺寸500x320
自动洗瓶机上传者:沥泉盘龙700901:25凸轮式转子泵产品演示动画
图片尺寸448x252
这些棘轮机构动图简直看花了眼你们试试附精要解析
图片尺寸434x480
p220手枪
图片尺寸220x124