单缸插销伸缩原理

单缸插销伸缩机构
图片尺寸1080x810
单缸插销伸缩机构
图片尺寸1080x810
单缸插销伸缩控制系统及工程机械
图片尺寸1834x1551
单缸插销伸缩机构ppt
图片尺寸1080x810
吊臂伸缩原理:"单缸插销"一个视频看懂!
图片尺寸640x472
吊臂伸缩原理单缸插销一个视频看懂
图片尺寸930x405
单缸插销伸缩机构
图片尺寸1080x810
cn102788060b_单缸插销式起重机及其伸缩油缸,伸缩油缸的缸头有效
图片尺寸929x849
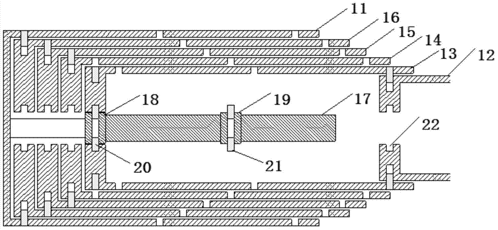
一种单缸插销式伸缩臂,起重机及其伸缩方法
图片尺寸1000x411
伸缩器的安装图解
图片尺寸564x292
单缸插销伸缩机构ppt
图片尺寸1080x810
吊车经常看到,但是今天才知道大臂的伸缩原理,里面不是液压油
图片尺寸496x280
展开全部 气压升降椅升降的气压伸缩杆里面是灌气,不压时里面的压力
图片尺寸558x626
单缸插销伸缩装置及起重机
图片尺寸360x314
一种双向调节伸缩结构
图片尺寸430x351
cn102400975a_二级伸缩式液压缸以及液压设备有效
图片尺寸1904x1091
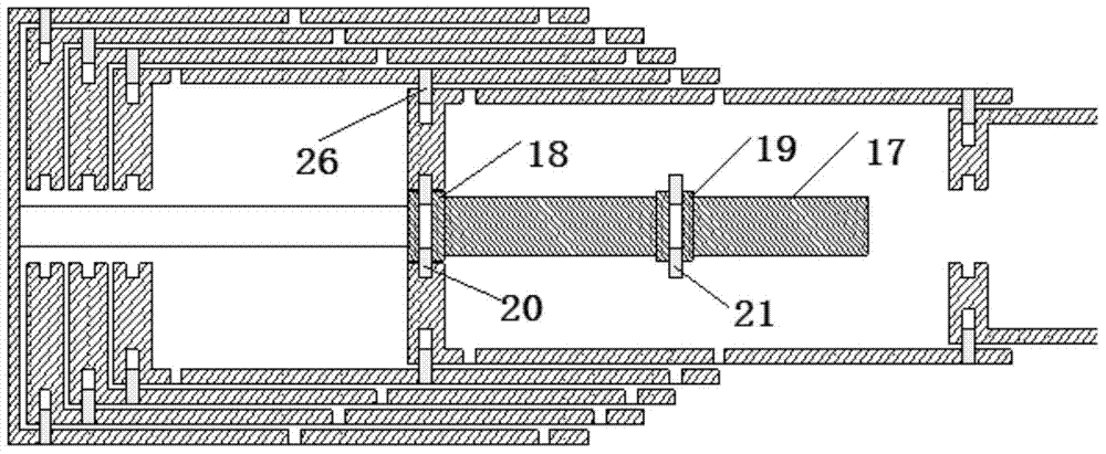
电缆卷筒装置单缸插销伸缩臂系统及起重机的制作方法
图片尺寸1000x600
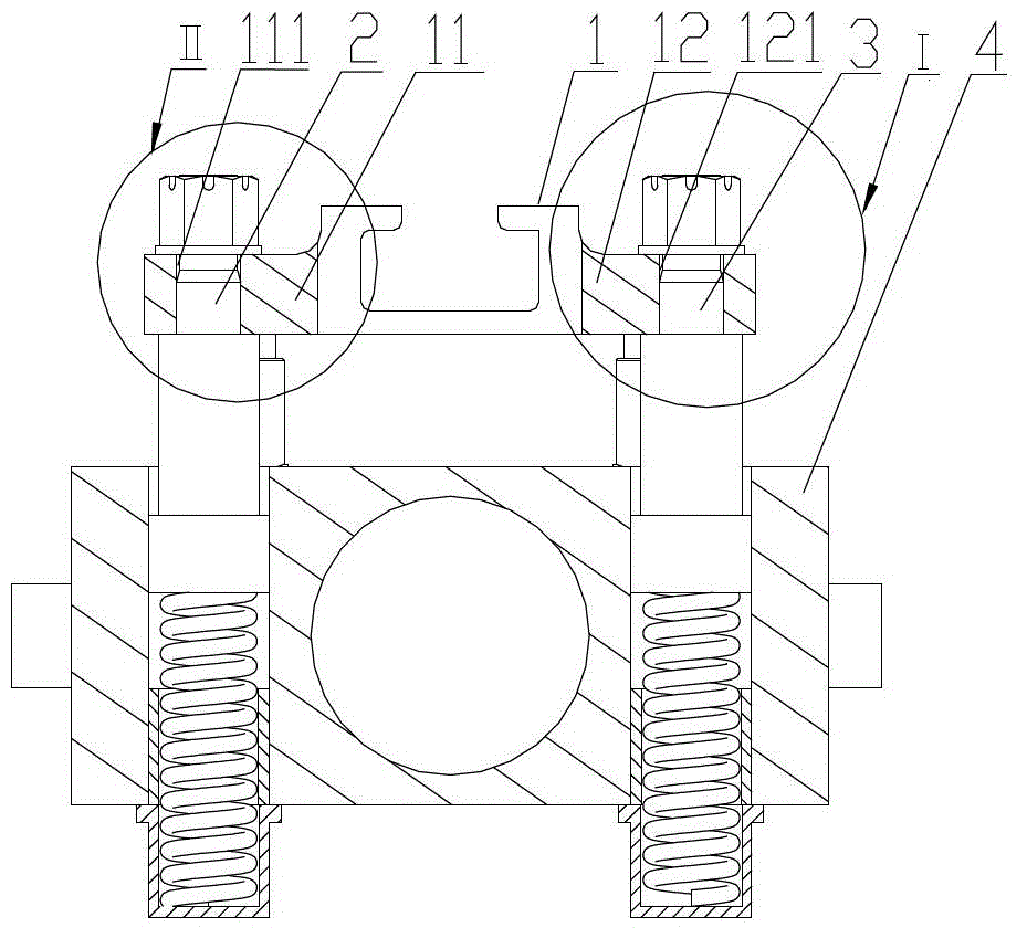
01)i 发明名称 单缸插销式伸缩臂起重机及其臂长测量装置
图片尺寸1672x873
自主研制单缸插销式伸缩臂技术
图片尺寸500x454
一种单缸插销式伸缩臂,起重机及其伸缩方法
图片尺寸1000x463