单脉冲

单脉冲
图片尺寸600x269
高级定时器单脉冲模式
图片尺寸1200x815
单脉冲和双脉冲波形
图片尺寸500x272
stm32定时器单脉冲模式
图片尺寸750x562
高级定时器单脉冲模式
图片尺寸1200x896
加强型增量编码器脉冲信号远传实验
图片尺寸627x496
单脉冲法测定目标方位,仰角示意
图片尺寸593x933
船帆座脉冲星的单脉冲观测研究获进展
图片尺寸2514x1960
单脉冲和差测角ppt
图片尺寸800x600
脉冲激光的单脉冲能量计算
图片尺寸600x375
单脉冲
图片尺寸408x220
索宜100v系列单脉冲电源
图片尺寸3041x1512
从频域角度考虑,考虑最简单的(不做任何脉冲压缩处理)单脉冲调制,时域
图片尺寸692x544
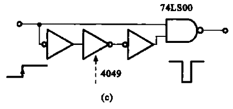
单脉冲 strong>信号产生 /strong> strong>电路 /strong>c.gif
图片尺寸459x216
stm8学习笔记pwm单脉冲模式输出
图片尺寸720x1280
脉冲电路
图片尺寸563x610
使用lecroy示波器测量easypulse脉冲的周期到周期抖动,rms值(测量的sd
图片尺寸465x400
三角脉冲信号的表达式_脉冲信号的产生与整形3(单稳态)
图片尺寸681x382
一种基于幅度单脉冲的高精度测角技术实现方法-爱企查
图片尺寸551x339
单脉冲发生电路图
图片尺寸1002x238