卡合结构

塑胶模具中卡扣结构有几种? - 常见问题 - 东莞市泰美尔模具有限公司
图片尺寸1090x409
一种多组锂电池之间的卡合结构的制作方法
图片尺寸1000x886
一种用于磨砂机磨砂盘的卡合结构的制作方法
图片尺寸669x1000
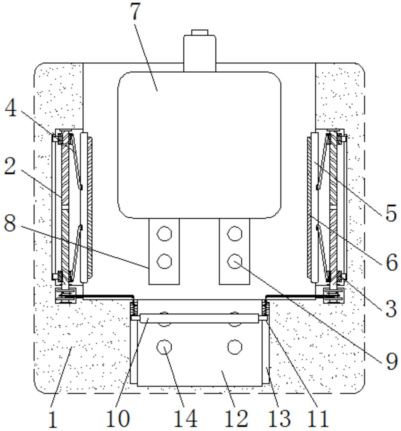
一种电瓶车用塑料过载保护器卡合安装结构
图片尺寸1407x1509
一种桥面加固板的卡合结构的制作方法
图片尺寸642x1000
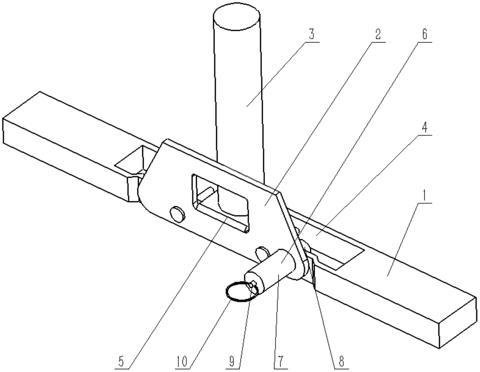
一种折叠桌卡合结构
图片尺寸1875x1451
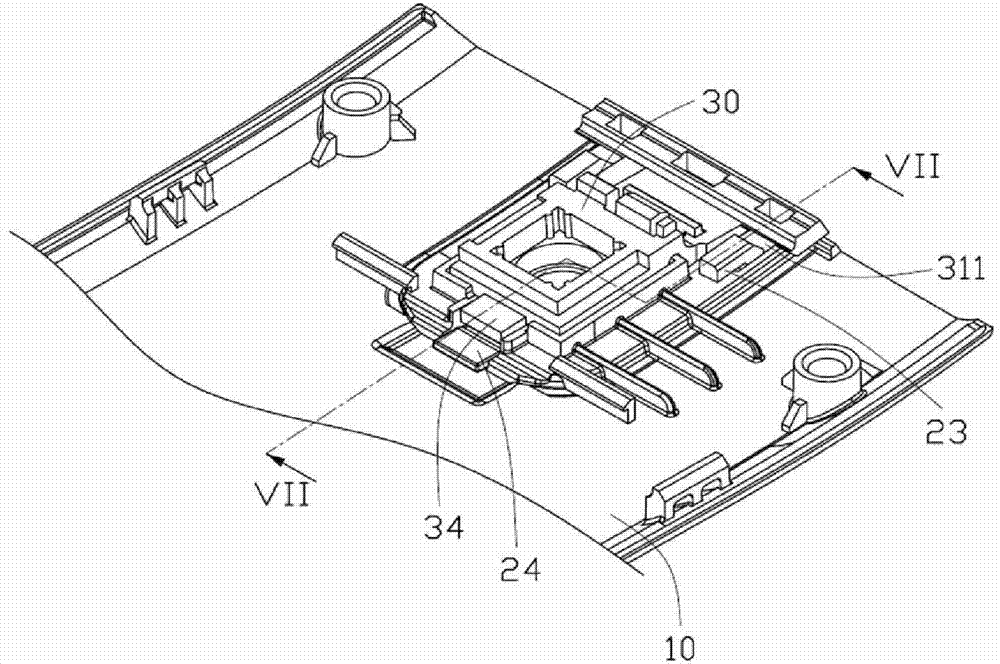
一种nb机种胶框和背板的卡合结构
图片尺寸1000x955
产品结构设计之卡扣
图片尺寸344x484
一种用于固定线束的卡合结构的制作方法
图片尺寸1000x994
一种折叠桌卡合结构的制作方法
图片尺寸1000x774
一种nb机种胶框和背板的卡合结构_cn201821699022.1_知雀网
图片尺寸1000x942
连接座卡合结构的制作方法
图片尺寸704x1000
结构设计中扣合量如何留? - 知乎
图片尺寸514x582
一种应用于光伏组件框架连接的卡合结构的制作方法
图片尺寸1000x704
一种应用于瓦片式光伏组件框架连接的卡合结构的制作方法
图片尺寸1000x582
一种卡扣开合结构
图片尺寸1185x1168
一种拼接式钢结构的卡合机构的制作方法
图片尺寸443x294
cn2546517y_水槽与脚柱的卡合结构失效
图片尺寸709x581
一种nb机种胶框和背板的卡合结构
图片尺寸1000x954
cn101661146b_卡合结构失效
图片尺寸1000x664