卡箍 图纸

重型卡箍图纸
图片尺寸732x515
卡箍图纸.gif
图片尺寸750x288
山东莱德机械高压卡箍刚(挠)性3.5mpa
图片尺寸1198x1851
9024c-1994品名带胶套卡箍规格华人螺丝网紧固件标准数据,规格图纸,如
图片尺寸2245x1387
304不锈钢弹簧管夹手捏钢丝卡簧水管23mm卡箍抱箍卡子1寸管道喉箍
图片尺寸750x454
求购采购抱箍_采购抱箍/卡箍/索具到中华标准件网
图片尺寸2550x4200
厂家直供大美式不锈钢碳钢 喉箍,卡箍,抱箍
图片尺寸1024x533
不锈钢卡箍快装接头执行标准
图片尺寸1153x1143
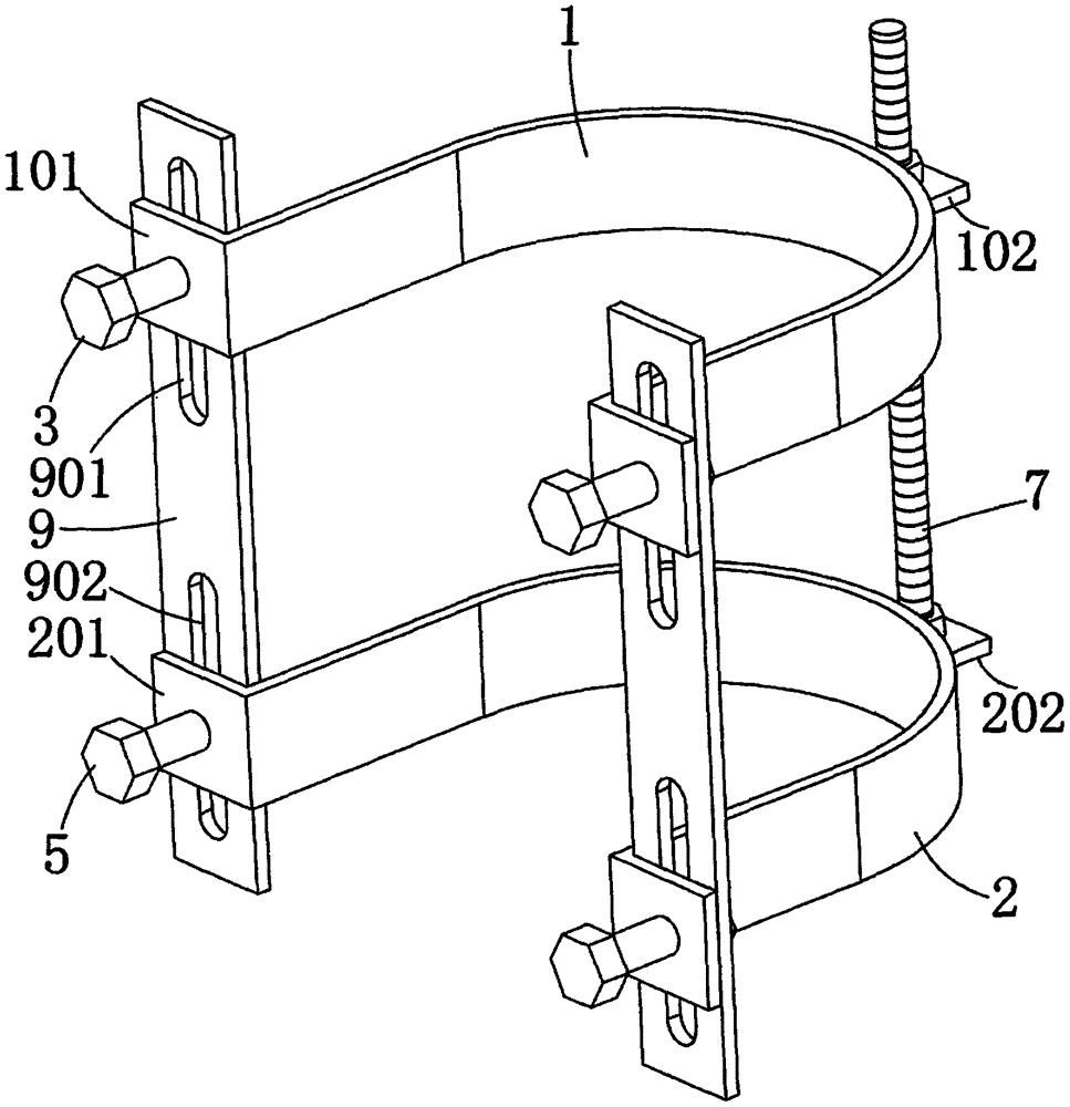
一种结构改良卡箍的制作方法
图片尺寸1000x777
快装固定弹簧卡箍锰钢卡子喉箍环箍汽车油管抱箍日式管卡弹性管夹
图片尺寸750x273
316德式喉箍(带宽12mm)德式喉箍-12mm-d90-110 标准图纸
图片尺寸649x653
耐磨弯头卡箍的实图,以及如何使用,求专业人士解答!谢谢!
图片尺寸269x288
一种电缆用固定卡箍的制作方法
图片尺寸1000x889
一种t型弹簧卡箍的制作方法
图片尺寸486x426
ds142431983米制尼龙卡箍
图片尺寸2245x1387
cn209800442u_一种高强度抱箍有效
图片尺寸967x1000
收藏 型号:请根据参数选型 下载相关图纸
图片尺寸950x567
yilan/伊兰q673b全规格弹性卡箍水管卡子镀锌抱箍 品质保证
图片尺寸790x500
cn207421040u_一种防松的蜗杆传动式卡箍有效
图片尺寸1402x1869
一种抗震卡箍制造技术
图片尺寸1000x843