印花机结构

水性印刷机机械结构及工作原理
图片尺寸1086x436
两用圆网印花机
图片尺寸1808x1036
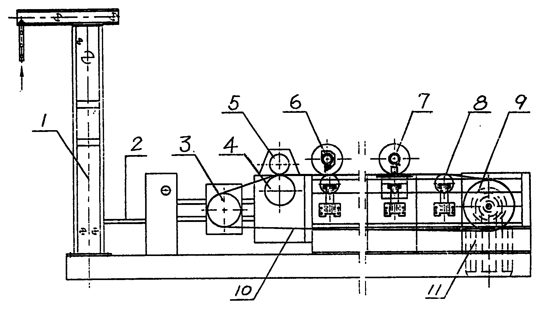
滚筒印花机的结构和工作过程
图片尺寸599x328
cn213056396u_一种纺织品印花机的印花结构
图片尺寸1907x1111
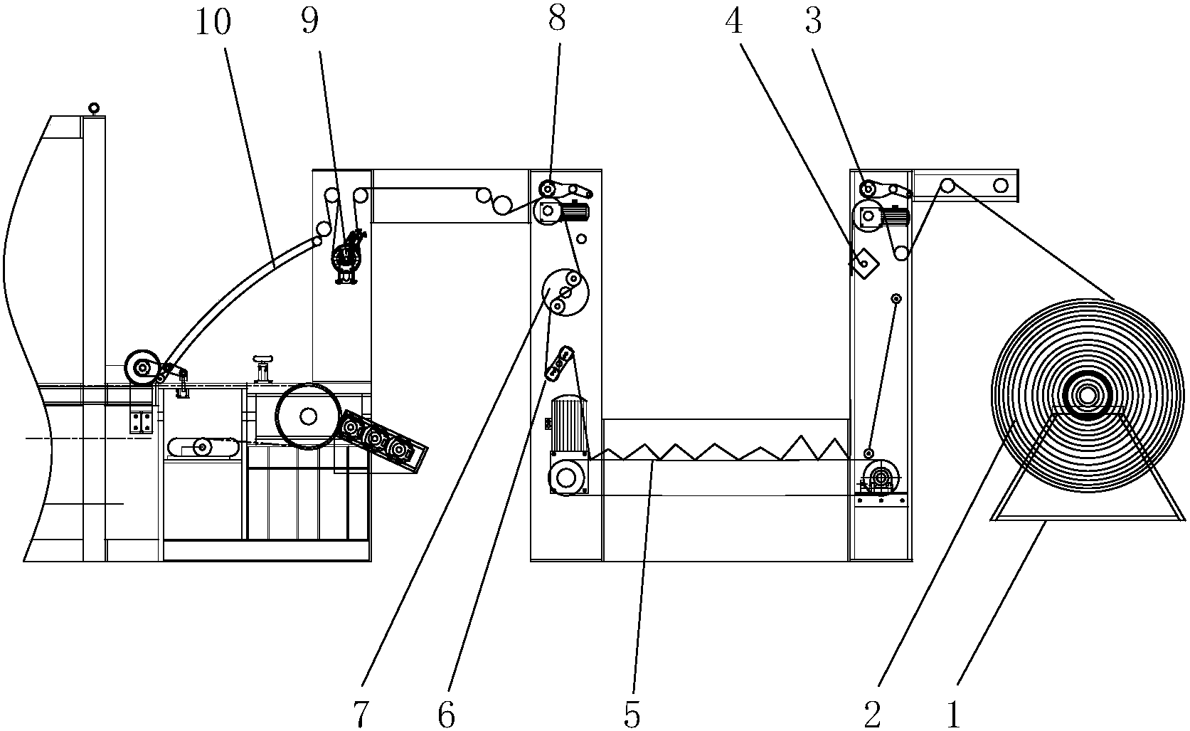
一种平网印花机
图片尺寸2082x1529
滚筒印花机的结构和工作过程
图片尺寸488x309
带有自动进料装置的硬纸板印刷机的制作方法
图片尺寸1000x559
柔性版印刷机组成和应用
图片尺寸608x222
一种平网印花机的制作方法
图片尺寸1000x600
cn104385774a_一种新型印花机有效
图片尺寸1000x596
一种带框架式贴片机构的印花机
图片尺寸1000x641
gsd-ys350半自动锡膏印刷机结构分解图详细介绍
图片尺寸981x564
cn213056433u_一种数码直喷织物印花机
图片尺寸1693x1159
多功能滚筒印花机 滚筒热转移印花机 服装全自动滚筒式印花机
图片尺寸1539x1231
一种平网印花机的制作方法
图片尺寸1000x851
第章针式打印机的组成结构及工作原理 ppt
图片尺寸860x645
圆网印花机主要组成部分的结构特点
图片尺寸309x331
单pass数码喷墨印花机无张力连续进布装置
图片尺寸1673x1027
谈喷墨打印机的结构及工作原理下
图片尺寸1153x1427
003打印机结构示意图
图片尺寸750x941